TITLE 77: PUBLIC HEALTH
CHAPTER I: DEPARTMENT OF PUBLIC HEALTH
SUBCHAPTER r: WATER AND SEWAGE
PART 890 ILLINOIS PLUMBING CODE
SECTION 890.APPENDIX E ILLUSTRATIONS FOR SUBPART E



Section 890.APPENDIX E   Illustrations for Subpart E

 

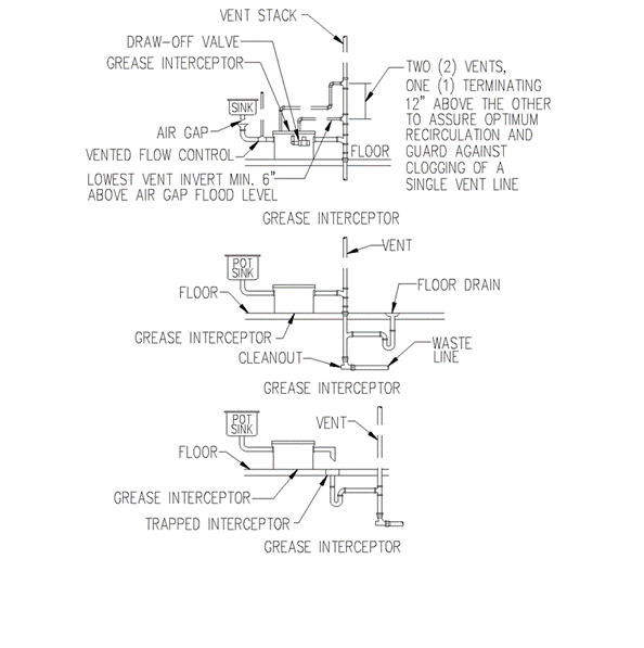
Section 890.ILLUSTRATION C   Interceptor/Separator Vents

 

(Referenced in Section 890.510(a)(6))

 

 

(Source:  Amended at 38 Ill. Reg. 9940, effective April 24, 2014)