TITLE 77: PUBLIC HEALTH
CHAPTER I: DEPARTMENT OF PUBLIC HEALTH SUBCHAPTER r: WATER AND SEWAGE
PART 890
ILLINOIS PLUMBING CODE
SECTION 890.110 APPLICABILITY
Section 890.110 Applicability
a) The
rules in this Part govern the design and installation of new plumbing or
plumbing systems and the alteration of plumbing systems. They apply to all new
construction and any remodeling or renovation that alters, renovates or
replaces existing plumbing or plumbing systems.
b) The
rules in this Part do not apply to existing buildings unless the plumbing or
plumbing system is being altered, the building use is being changed or the
existing plumbing creates a health or safety hazard.
c) If an
existing building is changed from one use to another or from one classification
to another, as provided in Appendix A.Table B, it shall be treated as a new
building and shall comply with the requirements of this Part for its new use or
occupancy.
d) Regardless
of the age of the building, where a health or safety hazard exists because of
an existing plumbing installation or lack thereof, the owner or his or her agent
shall install additional plumbing or make corrections as may be necessary to
abate the hazard or violation of this Part.
(Source: Amended at 38 Ill. Reg. 9940,
effective April 24, 2014)
 | TITLE 77: PUBLIC HEALTH
CHAPTER I: DEPARTMENT OF PUBLIC HEALTH SUBCHAPTER r: WATER AND SEWAGE
PART 890
ILLINOIS PLUMBING CODE
SECTION 890.120 DEFINITIONS
Section 890.120 Definitions
For the purpose of administering
and enforcing this Part, the following terms, which consist of words or
expressions that have a precise meaning in plumbing, shall have the meaning
indicated. Refer to Appendix A for standards applicable to plumbing
appurtenances and fixtures defined in this Section.
"Abut" or "Abutting": To border, to
touch, to terminate at point of contact, adjacent.
"Accessible": Easily approached or entered with
minor modifications, such as the removal of an access panel, door or similar
obstruction (e.g., drywall, gypsum board, plasterboard, or paneling). Concrete,
asphalt and ceramic tile are not considered accessible.
"Air Break" (See "Air Gap".)
"Air Gap": The unobstructed vertical distance
through the free atmosphere between the lowest opening from any pipe or faucet
supplying water to a tank or plumbing fixture and the flood-level rim of the
receptacle. An air gap in a drainage system is a piping arrangement in which a
drain from a fixture, appliance or device discharges indirectly into another
fixture, receptacle or interceptor at a point above the flood level rim. (See
Appendix B.Illustrations A and B.)
"Anchor": An approved support for securing pipe,
fixtures and equipment to walls, ceilings, floors or any other structural
members.
"Antimicrobial": An additive or surface coating
that prohibits the growth of bacteria or staphylococci.
"Anti-siphon Ballcock": A device consisting of a
float valve with a flow-splitter to provide for tank and trap refill that has
an integral vacuum breaker and that is used in conjunction with water closet
flush tanks.
"Approved": Accepted or acceptable under an
applicable specification stated or cited in this Part or accepted as suitable
for the proposed use.
"Area Drain": A drain placed in the floor of a
basement areaway, a depressed or basement entry way, a loading platform, or a
paved driveway that cannot otherwise be drained.
"Aspirator": A device supplied with water under
positive pressure that passes through an integral orifice, causing a partial
vacuum and resulting in movement of fluid by siphonage.
"Atmospheric Vacuum Breaker": A device consisting
of a soft disc, reaction cup, fully guided stem guide, air vent port, and air
port shield or hood to prevent fouling of the vent port, used for protection
against back siphonage.
"Authorities Having Jurisdiction": Any entity that
the Illinois Plumbing License Law authorizes to enforce the Law.
"Back Pressure": A condition caused when a force
is exerted and reverses the flow of gas, water or air in a direction opposite
the intended normal direction of flow.
"Back Siphonage": A condition caused when a
negative force or vacuum is exerted and reverses the flow of gas, water or air
to a direction opposite the intended normal direction of flow.
"Back Siphonage Preventer": A device designed to
prevent reverse flow in a water system, specifically back siphonage. The
device should be used only where no back pressure may occur.
"Back Water Valve": A device or valve that is
installed in a sanitary sewer, storm drain or storm sewer to prevent sewage or
drainage from backing up.
"Backflow": The reversal of flow from that
normally intended. Hydraulic conditions that cause backflow include back
siphonage, back pressure and aspiration.
"Backflow Preventer": A device or an assembly used
to prevent contamination of the potable water supply through an actual or
potential cross-connection.
"Backflow Preventer, Double Check Valve Backflow
Preventer Assembly" or "DCV": A plumbing appurtenance consisting
of two internally force loaded, independently acting check valves that operate
normally in the closed position; two tight-closing, resilient seated shut-off
valves; and four test cocks.
"Backflow Preventer, Dual Check Valve Type with Atmospheric
Vent": A plumbing appurtenance consisting of two internally force loaded,
independently acting check valves, designed to operate normally in the closed
position, separated by an intermediate chamber able to automatically vent to
atmosphere.
"Backflow Preventer, Double Check Detector Backflow
Prevention Assembly" or "DCDA": A plumbing appurtenance
consisting of two internally force loaded, independently acting check valves,
designed to operate normally in the closed position; two tight-closing,
resilient seated shut-off valves; and four test cocks. The assembly must
include a bypass line with a water meter and double check assembly.
"Backflow Preventer, Dual Check Valve Type": A
plumbing appurtenance consisting of two internally force loaded, independently
acting check valves, designed to operate normally in the closed position.
"Backflow Preventer, Dual Check Valves, Post-Mix
Carbonated Beverage Dispenser Type": A plumbing appurtenance used to
prevent carbonated water or carbon dioxide from backflow into a potable water
system. The assembly consists of two internally force loaded, independently
acting check valves, designed to operate normally in the closed position,
residing in a common body.
"Backflow Preventer, Reduced Pressure Detector Backflow
Prevention Assembly" or "RPDA": A plumbing appurtenance
consisting of two internally force loaded, independently acting check valves,
designed to operate normally in the closed position, separated by an
intermediate zone that includes an internally force loaded hydraulic operated
relief for venting to atmosphere, designed to operate normally in the open
position, two tight-closing, resilient seated shut-off valves, four test cocks,
and a metered reduced pressure backflow prevention assembly bypass.
"Backflow Preventer, Reduced Pressure Principle Backflow
Prevention Assembly" or "RPZ": A plumbing appurtenance
consisting of two internally force loaded, independently acting check valves,
designed to operate normally in the closed position, separated by an
intermediate zone that includes an internally force loaded, hydraulically
operated relief for venting to atmosphere, designed to operate normally in the
open position, two tight-closing resilient shut-off valves, and four test
cocks.
"Ballcock": A device consisting of a float valve
equipped with a flow-splitter to provide a tank and trap refill; used in
conjunction with a flush tank on a water closet.
"Battery of Fixtures": Any group of two or more identical
adjacent fixtures that discharge into a common horizontal waste or soil
branch. (See Appendix B.Illustration C.)
"Boiler Blow-Down": A controlled outlet on a
boiler to permit emptying or discharging of sediment.
"Branch": Any part of the piping system other than
a main, riser or stack. (See Appendix B.Illustration D.)
"Branch Interval": A length of soil or waste stack
corresponding in general to a story height, but in no case less than 8 feet,
within which the horizontal branches from one floor or story of a building are
connected to the stack.
"Branch Vent": A horizontal vent connecting one or
more individual vents with a vent stack or stack vent. (See Appendix B.Illustration
E.)
"Building Classification": The Department's
designation of buildings into differing types based upon use or occupancy, such
as residential buildings, dormitories, office buildings, food service
establishments, etc.
"Building Drain": The part of the lowest
horizontal piping of a drainage system that receives the discharge from soil,
waste, and other drainage pipes inside the walls of the building and conveys it
to the building (house) sewer. The building drain's developed length
terminates 5 feet outside the building foundation wall. (See Appendix B.Illustration
F.)
"Building Sewer": The part of the horizontal
piping of a drainage system that extends from the end of the building drain,
receives the discharge of the building drain and conveys it to a public
sanitary sewer or private sewage disposal system. The building sewer commences
5 feet outside the building foundation wall. (See Appendix B.Illustration F.)
"Building Storm Drain": The lowest horizontal
portion of the storm drainage system used for conveying rain water, surface
water, ground water, subsurface water, site drainage, condensate or cooling
water inside the walls of a building to a point 5 feet beyond the outside of
the building foundation wall.
"Building Sub-drain": The portion of a sanitary
drainage system (see definition of "Drainage System") that cannot
drain by gravity into the building drain. (See Appendix B.Illustration G.)
"Building Trap": A device, fitting, or assembly of
fittings installed in a building drain to prevent circulation of air between
the drainage system of the building and the building sewer.
"Chemical Waste System": Piping that conveys
corrosive or toxic chemical waste to the drainage system.
"Circuit Vent": A branch vent that serves two or
more traps and extends from the front of the last fixture connection of a
horizontal waste branch to the vent stack. This type of venting applies only
to floor drains and floor outlet fixtures. (See Appendix B.Illustration H.)
"Clear Water" or "Clear Water Waste":
Cooling water and condensate waste from refrigeration or air conditioning
equipment, cooled condensate from steam heating systems, and seepage water.
"Closed Water System": A system that has a
backflow device or assembly installed in the water supply system to contain
backflow within the premises. Other plumbing appurtenances, such as a single
check valve or a water pressure regulator installed in the water supply system,
may also create a closed water system.
"Code": State or local statutes, ordinances, or
administrative rules, e.g., requirements for plumbing methods, materials, etc.
This Part)will be referenced in this rule as "Part". At the local
level, a county, city, township, village or sanitary/water district shall adopt
a plumbing ordinance or resolution and plumbing rules, and the ordinance or
resolution and rule shall be filed with the clerk's office. A standard for
plumbing contained in any local rule or ordinance that has not been officially
adopted can be construed only as a recommended standard.
"Cold Water": Water below 85 degrees Fahrenheit.
"Combination Fixture": A fixture combining two or more
compartments or receptors.
"Combination Waste and Vent System": A system of
waste piping with the horizontal wet venting of one or more floor drains by
means of a common waste and vent pipe adequately sized to provide free movement
of air above the flow line of the drain.
"Combined Building Sewer": A sewer that receives
storm water and sewage.
"Common Vent": A vent connecting at the junction
of two fixture drains and serving as a vent for both fixtures. (See Appendix B.Illustration
I.)
"Connection": The joining of two pieces of pipe,
or pipes and fittings, valves or other appurtenances.
"Contaminant": Any solid, liquid or gaseous matter
that, when present in a potable water supply distribution system, may cause the
water to degrade so that water quality standards are not met or physical
illness, injury or death to persons consuming the water could result.
"Contaminated Water": Water not suitable for human
use or that does not meet the water quality standards of rules of the Illinois
Pollution Control Board titled Primary Drinking Water Standards.
"Continuous Vent": A vertical vent that is a
continuation of the drain to which it connects. The drain may be either
vertical or horizontal. (See Appendix B.Illustration J.)
"Continuous Waste": A drain or waste line from two
or more fixtures or sink compartments (of a single fixture), such as a combined
three- compartment sink, connected to a single common trap.
"Critical Level": The mark on an atmospheric
vacuum breaker established by the manufacturer and stamped "-CL-". This
determines the minimum elevation above the flood-level rim or top of the
fixture, whichever shall apply, at which the device shall be installed. When
an atmospheric vacuum breaker does not bear a critical level marking, the
bottom of the vacuum breaker shall constitute the critical level.
"Cross-Connection": Any actual or potential
connection or arrangement between two otherwise separate piping systems, one
containing potable water and the other containing fluids or gases of any kind
that do not meet potable water quality standards, in which the non-potable
substances in one system may flow into the potable water system or enter it
through a means such as back pressure, back siphonage or aspiration.
"Cross-Connection Control Assembly": A tested and
approved plumbing appurtenance, complete with shut-off valves, installed in a
potable water line to prevent potable water from being mixed with any substance
from a piping system containing non-potable substances, connected in any manner
to the potable water supply.
"Cross-Connection Control by Containment": The
installation of a backflow prevention device or assembly on the service line to
a premises to protect water quality.
"Cross-Connection Control by Isolation": The
installation of a backflow prevention device or assembly at each actual or
potential cross-connection within a premises to protect water quality.
"Cross-Connection Control" or "CCC": The
identification and elimination of all unprotected connections between a potable
water system and any other substance.
"Cross-Connection Control Device": A plumbing
appurtenance installed in a potable water line to prevent any substance of any
kind from being mixed.
"Cross-Connection Control Device Inspector": An
individual who holds an Illinois Plumbing License and who has been certified in
accordance with 35 Ill. Adm. Code 653.802 (Specific Conditions and Installation
Procedures) of the Illinois Environmental Protection Agency's rules titled
Design, Operation and Maintenance Criteria to inspect, test, maintain and
repair cross-connection control devices and assemblies. The certification
attests to an inspector's understanding of the principles of backflow and back
siphonage, and the public health hazard presented by the improper installation
of cross-connection control devices.
"Cross-Connection, Non-Pressure Type": A submerged
inlet installation where a potable water pipe is connected or extended below
the overflow rim of a receptacle, or an environment that contains a non-potable
substance at atmospheric pressure.
"Cross-Connection, Pressure Type": An installation
where a potable water pipe is connected to a closed vessel or piping system
that contains a non-potable substance above atmospheric pressure.
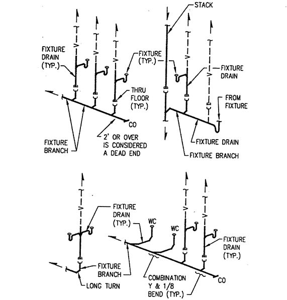
"Dead End": A pipe that is terminated at a
developed distance of 2 feet or more by means of a plug or other closed
fitting, except piping serving as a cleanout extension to an accessible area.
(See Appendix B.Illustration K.)
"Department": The Illinois Department of Public
Health.
"Developed Length": The length of a pipe measured
along the center line of the pipe, including fittings.
"Diameter": The length of a straight line passing
through the center of an object, e.g., a circle. (For the diameter of a pipe,
see "Pipe Diameter".)
"Drain": Any pipe that carries waste water in a
building drainage system. (See Appendix B.Illustration L.)
"Drain Laying": The laying and connecting of
piping from 5 feet outside the foundation wall of a building to the public
sanitary sewer system in the street or alley.
"Drainage Fixture Unit" or "DFU": The
mathematical factor used by the plumbing industry to estimate the probable load
on the drainage system caused by discharge from various plumbing fixtures. One
drainage fixture unit is equivalent to 7½ gallons per minute or 1 cubic foot
per minute.
"Drainage Piping" (See "Drainage System".)
"Drainage System": All piping within public or
private premises that conveys sewage, rain or other liquid wastes to a point of
disposal, but does not include the mains of a public sewer system or a private
or public sewage treatment or disposal plant. The drainage system does not
include the venting system. Drainage and venting are separate systems,
although both are part of the overall plumbing system.
"Durham System": A soil or waste system where all
piping is of threaded pipe, using recessed drainage fittings.
"Effective Opening": The minimum cross-sectional
area at the point of water supply discharge, measured or expressed in terms of
the diameter of a circle or, if the opening is not circular, the diameter of a
circle of equivalent cross-sectional area. (This is applicable to sizing an
air gap.)
"Existing Plumbing" or "Existing Work":
A plumbing system or any part of a plumbing system that has been installed
prior to January 1, 2014.
"Extracted Mechanical Joint": A joint that is
developed with a special drilling tool used to penetrate a copper pipe wall,
after which two steel pins are extended from the drill. While rotating, the
drill head is withdrawn from the pipe under power, raising an external collar
from the hole in the pipe. The branch pipe is then brazed into the collared
outlet.
"Fixed": Stationary, immovable or immobile, as in
a fixed air gap.
"Fixture Branch": A water supply pipe, soil pipe
or waste pipe serving one or more fixtures.
"Fixture Carrier": A device designed to support an
off-the-floor plumbing fixture.
"Fixture Drain": The vertical or horizontal outlet
pipe from the trap of the fixture to the junction of that pipe with any other
drain pipe. (See Appendix B.Illustration M.)
"Fixture Supply": A water supply pipe connecting
the fixture to a branch or main water supply pipe.
"Fixture Supply Stop": A valve used to control
water supply to an individual plumbing fixture, appurtenance or appliance.
"Float Valve": An automatic opening valve,
operated by a float, used to control the water level in a vessel, tank or other
container.
"Flood Level": The elevation at which a liquid
will overflow the fixture or receptacle.
"Flood Level Rim": The top edge of a receptacle or
fixture over which a liquid will flow when the receptacle or fixture is filled
beyond its capacity (or flooded). "Overflow rim" is used
interchangeably with flood level rim.
"Flooded": When the liquid in a fixture equals the
maximum capacity of the fixture or when the level of the liquid in the fixture
rises to the fixture's flood level rim. Any attempt to add liquid to a flooded
fixture causes liquid to overflow.
"Flush Valve": A device for the purpose of
flushing water closets and other similar fixtures.
"Flushometer
Valve": A device actuated by hand, a photoelectric cell, or other
electronic control that discharges a predetermined quantity of water to
fixtures for flushing purposes. The valve is closed by direct water pressure.
"Food Service Establishment": Any establishment
selling or serving, to the public, food or liquid beverages that can be
consumed on the premises.
"Grade":
The fall, pitch or slope of a line of pipe in reference to a horizontal plane.
In drainage, it is usually expressed as the fraction of an inch fall per foot
length of pipe. This may also be expressed as a percentage. (See Appendix B.
Illustration O.)
"Graywater": Untreated waste water that has not
come into contact with toilet waste, kitchen sink waste, dishwasher waste or
similarly contaminated sources. Graywater includes waste water from bathtubs,
showers, lavatories, clothes washers and laundry tubs. Also known as gray
water, grey water, and greywater.
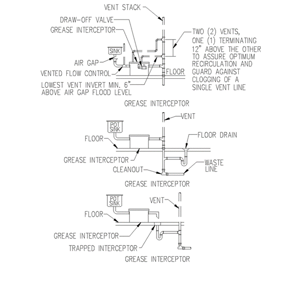
"Grease Interceptor": A device used to separate
and retain grease, oils and other floating matter from sewage waste while
permitting the remaining flow to discharge into the drainage system. See
"Interceptor".
"Group of Fixtures": Two or more fixtures adjacent
to or near each other.
"Hangers": Devices for supporting and securing
pipe, fixtures and equipment to walls, ceilings, floors or any other structural
member.
"High Hazard Substance": Any substance that, when
present in the potable water system, can cause illness, injury or death if
consumed.
"Historic Buildings": All buildings, parts of
buildings, facilities or sites individually listed in or eligible for listing
in the National Register of Historic Places; a "contributing"
building or site in a National Register Historic District as determined by the
Illinois Historic Preservation Agency (IHPA) or as determined by a
"Certified Local Government" designated by IHPA; a building or site
designated as a historic or architectural landmark by a local Landmarks
Commission or local Historic Preservation Commission; or buildings that undergo
historic reconstruction.
"Horizontal Branch": A drain pipe extending
laterally from a soil or waste stack or building drain, with or without
vertical sections or branches, that receives the discharge from one or more
fixture drains and conducts the discharge to the soil or waste stack or to the
building drain. (See Appendix B.Illustration P.)
"Horizontal Pipe": Any pipe or fitting that makes
an angle of less than 45 degrees with the horizontal.
"Hose": A flexible tube for conveying fluids (as
from a faucet or hydrant).
"Hose Bibb": A faucet to which a hose may be
attached.
"Hot Water": Water at a temperature of not less
than 120 degrees Fahrenheit.
"House Drain" (See "Building Drain".)
"House Trap" (See "Building Trap".)
"Indirect Waste": A pipe that does not connect
directly with the drainage system but conveys liquid waste by discharging
through an air gap into the drainage system.
"Individual Dry Vent": A pipe installed to vent a single
fixture trap that connects with the vent system above the fixture served, or that
terminates in the outside atmosphere. (See Appendix B.Illustration CC.)
"Individual Water System": A piping system that
supplies potable water for a single family dwelling and includes the water
service line and all potable water piping.
"Industrial Wastes": Liquid wastes resulting from
the processes employed in industrial and commercial establishments.
"Insanitary": Contaminated. Not hygienic or sufficiently
unclean to endanger health.
"Interceptor": A device designed and installed to
separate and retain hazardous or undesirable matter from normal waste and to permit
normal sewage or liquid waste to discharge into the drainage system.
Interceptors may be designed to remove gas, oil, sand, grit and grease. "Separator"
is also commonly used to mean an "interceptor."
"Invert": The lowest part of the internal
cross-section of a pipe or conduit.
"Island Fixture Vent": A vent in which the vent
pipe rises as near as possible to or above the highest water level in the
fixture vented and then turns down before rising to connect to the vent system
6 inches above the flood level rim or terminating to the atmosphere. (See
Section 890.1600, "Special Venting for Island Fixtures".)
"Joint": The juncture of two pipes, a pipe and a
fitting, or two fittings.
"Kiosk": A freestanding place of employment that
has five or fewer employees at any time, located inside or outside a building.
"Kitchen or Bar Sink Faucet":
A faucet that discharges into a kitchen or bar sink in domestic or commercial
installations. Supply fittings that discharge into other types of sinks,
including clinic sinks, floor sinks, service sinks and laundry trays, are not
included.
"Labeled":
An indication that an agency approved by the Department or that is an
ANSI-accredited certification program has certified the plumbing material to be
in compliance with applicable standards in accordance with this Part.
"Lavatory
Faucet": A faucet that discharges into a lavatory basin in a domestic or
commercial installation.
"Lead
Free": When used with respect to solder and flux, refers to products
containing not more than 0.2 percent lead and, when used with respect to wetted
surfaces of pipe, pipe fittings, and fixtures, refers to materials containing
no more than a weighted average of 0.25 percent lead. Exemptions include pipes,
pipe fittings, plumbing fittings, or fixtures, including backflow preventers,
that are used exclusively for nonpotable services, such as manufacturing,
industrial processing, irrigation, outdoor watering, or any other uses where
the water is not anticipated to be used for human consumption; or toilets,
bidets, urinals, fill valves, flushometer valves, tub fillers, shower valves,
service saddles, or water distribution main gate valves that are 2 inches in
diameter or larger. (Section 1417(a)(4)(A) and (B) of the Safe Drinking
Water Act)
"Length of Pipe": The overall distance measured
along the center line of a pipe. See "Developed Length".
"Line Valve": A valve in the water supply
distribution system, except those immediately controlling one fixture supply.
"Liquid Waste": The discharge from any fixture,
appliance or appurtenance, in connection with a plumbing system that does not
receive fecal matter.
"Load Factor": The percentage of the total
connected fixture unit flow rate that is likely to occur at any point in the
drainage system. The load factor varies with the type of occupancy, the total
flow above the point being considered, and probability of simultaneous use.
Load factor represents the ratio of the probable load to the potential load.
"Local Ventilating Pipe": A pipe on the fixture
side of the trap through which vapors or gases or foul air is removed from a
room or fixture to the outside atmosphere. Certain special apparatus, such as
sterilizers, are sometimes provided with a local ventilating pipe to remove
vapors. A local ventilating pipe is not connected into the vent piping of the
drainage system.
"Loop Vent": A circuit vent that loops back to
connect with a stack vent instead of a vent stack. Its use is limited to floor
drains and floor outlet fixtures.
"Low Hazard Substance": Any substance that, when
present in the potable water system, may cause the water to be discolored or have
an unusual odor or an unpleasant taste, but will not cause illness, injury or
death if consumed.
"Main": The principal artery of a piping system to
which branches may be connected.
"Main
Vent": The principal artery of the venting system to which vent branches
may be connected. A main vent may be a vent stack or stack vent. (See
Appendix B.Illustration Q.)
"Maximum Demand": In plumbing, the greatest
requirement of flow of either water supply or waste discharge from the fixtures
of a building, or any specific segment of the building fixtures.
"Manhole": An opening constructed to permit a
person to gain access to an enclosed space. In a sewer or any portion of the
plumbing system, it is used to eliminate restriction of flow at changes of
direction or junctions and to facilitate cleaning.
"Metering
Faucet": A self-closing faucet that dispenses a specific volume of water
for each actuation cycle. The volume or cycle duration can be fixed or
adjustable.
"Minor
Repairs": Repairs that do not require changes in the piping to or from
plumbing fixtures or involve the removal, replacement, installation or
reinstallation of any pipe or plumbing fixture.
"Multi-person
Showers": Shower compartments designed and intended for use by two or more
persons simultaneously.
"New
Plumbing" or "New Work": Any plumbing system or part of a
plumbing system, or any addition to or alteration of an existing system, being
installed or recently completed.
"Non-Potable Water": Water that does not meet
drinking water quality standards specified in the Pollution Control Board's
rules titled Primary Drinking Water Standards, and is not suitable for human
consumption or culinary use, or is of unknown quality.
"Non-Toxic Transfer Fluids": Fluids having no
normal detrimental effect on humans.
"Occupancy": The purpose for which a building is
currently used. In the case of a single family residence, occupancy shall mean
taking possession of and living in the premises as one's sole and exclusive
residence for a period of not less than six months after the completion of
construction or issuance of a Certificate of Occupancy by a unit of local
government.
"Offset": A combination of elbows or bends that brings
one section of pipe into a line parallel with another section.
"Open Plumbing": Installation of plumbing so that
traps and drainage pipes and their surroundings beneath fixtures are
ventilated, accessible and open to inspection. Open plumbing is also referred
to as an exposed plumbing installation.
"Overflow Rim": The top edge of a receptacle or
fixture over which a liquid will flow when the receptacle or fixture is filled
beyond its capacity (or flooded). "Flood level rim" is used
interchangeably with overflow rim.
"Part": This Illinois Plumbing Code in its
entirety or any emergency rule that the Department adopts, during the effective
period of the emergency rule.
"Peppermint Oil": A pungent, aromatic mint oil
sometimes used in testing a drain, waste and vent system by means of a
"Peppermint Test".
"Peppermint Test": A test for leakage using
peppermint oil and hot water as the media, and the sense of smell to determine
any leak; also known as a "scent test" (see Section 890.1930(e)).
"Pet Cock": A small faucet or valve used to drain
water, steam or air.
"pH": An expression of acidity and alkalinity on a
scale from zero to 14, with 7.0 being neutral. Numbers less than 7.0 indicate
increasing acidity as the number decreases, and numbers greater than 7.0 indicate
increasing alkalinity as the number increases.
"Pipe": A cylindrical conduit or conductor, the
wall thickness of which is sufficient to receive a standard pipe thread.
"Pipe Diameter": The distance measured from the
inside wall of a pipe (passing through the center of the pipe) to the opposite
inside wall. Any referenced pipe diameter or pipe size shall mean the nominal
size or diameter.
"Pipefitting": The installation of piping other
than piping that is defined as plumbing.
"Pipe Increments": Increasing or decreasing pipe
size by a given number − the following examples constitute one pipe size
change: 1, 1¼, 1½, 2, 2½, 3, 3½, 4, 4½, 5.
"Piping": An assembly of pipes or conduit with
fittings of compatible design. This term is commonly interchanged with
"Pipe".
"Pitch": Synonymous with "grade". (See
"Grade".)
"Plumbing": See the Illinois Plumbing License Law.
"Plumbing Appliance": A special class of plumbing
fixture intended to perform a special function. This term includes water
heaters, water coolers, drinking fountains, and heat exchanger and water
treatment equipment other than water softeners.
"Plumbing Appurtenance": An accessory or device
used in a plumbing system which demands no additional water supply, nor adds
any discharge load to a fixture or the drainage system. Plumbing appurtenances
include instruments, gauges, relief valves, limit switches, backflow
assemblies, solenoid valves and devices between solenoid valves.
"Plumbing Fixture": Approved, installed
receptacles, devices or appliances that are supplied with water or that receive
or discharge liquid or liquid-borne waste, with or without discharge of the
waste into the drainage system to which they may be directly or indirectly
connected; an installed appurtenance to the potable water supply system that makes
available intended potable water, or a receptor that receives and discharges
liquids or liquid-borne waste either directly or indirectly into the drainage
system; or a permanent appendage usually designed as a receptacle and intended
to receive or discharge liquid or liquid-borne waste to a drainage system.
Industrial or commercial tanks, vats, and similar processing equipment are not
plumbing fixtures, but they may be connected to, or discharged into, approved
traps or plumbing fixtures.
"Plumbing Inspector": An employee or agent of
State or local government who holds a valid Illinois Plumbing License and is
authorized to inspect plumbing.
"Plumbing System": See the Illinois Plumbing
License Law.
"Pop-Up Waste": A waste outlet into which a
sliding metal or plastic stopper is fitted, and the stopper can be raised to
drain the waste. A common pop-up waste used for lavatories has a lever that
passes out the side of the drain fitting and connects to a lift rod that
extends on top of the lavatory or sink. The rod is lifted to lower the stopper,
or depressed to raise the stopper and drain the lavatory.
"Potable Water": Water that meets drinking water
quality standards specified in the Pollution Control Board's rules titled
Primary Drinking Water Standards and is suitable for human consumption or
culinary use.
"Pre-Rinse
Spray Valve": A hand-held device for use with commercial dishwashing and
ware-washing equipment that sprays water on dishes, flatware and other food
service items for the purpose of removing food residue before cleaning and
sanitizing the items.
"Pressure
Gradient Monitor": A device used to protect the quality of water,
failsafe by design, securing the potable water system by isolating a heat
exchanger when the pressure between the potable water and the heat exchange
medium drops below a preset level.
"Pressure Relief Valve" (See "Relief
Valves".)
"Private" or "Private Use": In the
classification of plumbing fixtures, private applies to fixtures in residences,
apartments and private bathrooms of hotels or motels where the fixtures are intended
for the use of a single family or an individual; handwashing stations
(lavatories) within residents' rooms, within shared or common resident
restrooms, or designated for staff use only in hospitals/long-term care
units/mental health facilities, and hand-washing stations where food is being
prepared.
"Private Sewage Disposal System": Any sewage
handling or treatment facility receiving domestic sewage from fewer than 15 people
or population equivalent and having a ground surface discharge or any sewage
handling or treatment facility receiving domestic sewage and having no ground
surface discharge. Refer to the Private Sewage Disposal Licensing Act and
Private Sewage Disposal Code.
"Private Sewer": A sewer privately owned and not
directly controlled by a public authority.
"Private Water Supply": Any potable water supply that
provides water for drinking, culinary and sanitary purposes and serves an
owner-occupied single family dwelling.
"Proper" or "Properly": To be accurate or
meeting the standard of competence for the given situation and properties of
the materials involved based upon the standards in this Part and manufacturer's
recommendations.
"p.s.i";
"P.S.I."; or "psi": Pounds per square inch gauge of
pressure.
"Public"
or "Public Use": Any installation or use of plumbing fixtures or
facilities except those in residences, apartments or private bathrooms of
hotels/motels where the fixtures are intended for the personal use of an
individual or single family only.
"Public Area": An area within a building
accessible to all persons, including, but not limited to, mercantile units,
private clubs and membership organizations.
"Public Sanitary Sewer": A sewer that is
controlled by a public authority and is intended to receive and transport
sewage.
"Public Water System": A system for providing
piped water to the public for human consumption, if the system has at least 15
service connections or regularly serves an average of at least 25 individuals
daily at least 60 days per year. The term public water system includes: any
collection, treatment, storage and distribution facility under the control of
the operator of the system and used primarily in connection with the system;
and any collection or pretreatment storage facilities not under control of the
operator of the system that are used primarily in connection with that system.
The public water system ends at and with the water service connection.
"Quarter Bend": A fitting changing direction of 90
degrees .
"Quick Closing Valve": A valve or faucet that
closes automatically when released or one that has fast action closing.
"Readily
Accessible": Direct access without the necessity of removing or moving
any panel, door or similar obstruction.
"Receptor": Devices or fixtures that receive the
discharge from indirect waste pipes.
"Reduced
Pressure Zone Principle Backflow Preventer Assembly" or "RPZ" (See
"Backflow Preventer, Reduced Pressure Principle Backflow Preventer
Assembly" or "RPZ".)
"Relief Valves":
Temperature relief valve − A valve designed to release
water to the atmosphere at a predetermined temperature setting.
Pressure relief valve − A valve designed to relieve
excessive pressure to the atmosphere at a predetermined setting.
Temperature and pressure relief valve or pressure-temperature
relief valve − A valve incorporating a temperature relief valve and a
pressure relief valve in one unit.
Vacuum relief valve − A valve that admits air to the
system when the system is attempting to reduce its pressure to less than
atmospheric.
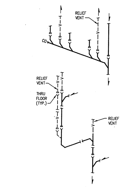
"Relief Vent": A vent that permits circulation of
air in or between drainage and vent systems. (See Appendix B.Illustration S.)
"Restroom": As a minimum, will consist of one
water closet and one lavatory, all located in the same room.
"Return Offset": A double offset installed so as
to return the pipe to its original alignment.
"Revent Pipe" (See "Individual Dry Vent".)
(See Appendix B.Illustration U.)
"Rim": An unobstructed open edge of a fixture.
"Riser": A water supply pipe that extends
vertically one full story or more to convey water to branches or to a group of
fixtures.
"Roughing-In":
The installation of all parts of the plumbing system that can be completed
prior to the installation of fixtures. This includes drainage, water supply,
and vent piping, and the necessary fixture supports.
"Safe
Pan": An appurtenance installed beneath piping or a fixture to collect
and drain any leakage. Safe pans are generally found in food
preparation/storage areas and sterile areas of health care facilities that have
overhead, exposed drainage piping. Safe pans are not intended to receive
discharges from temperature and pressure relief valves.
"Safe Waste" (See "Indirect Waste".)
"Sanitary Sewer": A public or private sewer into
which building sewers are connected.
"Sanitary Waste": Sewage containing excrement and
liquid wastes or ordinary wastes derived from a plumbing system.
"Self
Closing Faucet": A faucet that closes itself after the actuation or
control mechanism is deactivated. The actuation or control mechanism can be
mechanical or electronic.
"Semi-Private
Water System": A water supply that is not a public water system and that serves
a segment of the public other than an owner-occupied single family dwelling.
(See Section 19 of the Illinois Groundwater Protection Act.)
"Separator" (See "Interceptor".)
"Service Connection": The tap at the water main
and any pipe to the property line.
"Sewage": Any waste containing animal, human or
vegetable matter in suspension or solution, and may include liquids containing
chemicals in solution.
"Sewage Ejector": A device for lifting sewage by
pumping means.
"Sillcock": A type of lawn faucet. A faucet used
on the outside of a building to which a garden hose may be attached.
"Size of Pipe or Tubing": Pipe is generally sized
according to the approximate dimension of its bore or inside diameter, whereas
tubing is usually sized by measuring its outside diameter. Both are expressed
in inches and fractions of inches. For purposes of this Part, any referenced
pipe or tubing size shall mean the nominal size or diameter as designated by
the commercial manufacturer.
"Slope": Synonymous with "grade." (See
"Grade".)
"Soil Pipe": Any pipe that conveys the discharge
of water closets or fixtures having similar functions, with or without the
discharge from other fixtures, to the building drain.
"Special Waste Pipe": Piping that conveys special
waste. Piping that has been designed and manufactured of special material to
handle special waste such as acids.
"Special Wastes": Wastes that require special
handling and treatment before they may be discharged into the plumbing system.
(See Subpart H.)
"Sprinkler System":
Fire sprinkler
system − a system of piping and necessary appurtenances for conveying
water or other extinguishing substances to outlets for the purpose of fire
extinguishment.
Lawn sprinkler
system − a system of piping installed for irrigation purposes.
"Stack": Any vertical line of soil, waste or vent
piping.
"Stack Vent": The extension of a soil or waste
stack above the highest horizontal drain connected to the stack. (See Appendix
B.Illustration V.)
"Stack Venting": A method of venting a fixture or
fixtures through the soil or waste stack.
"Sterilizer":
Boiling Type
Sterilizer − a fixture (non-pressure type) used for boiling instruments,
utensils or other equipment (used for sterilization). Some devices are
portable; others are connected to the plumbing system.
Instruments
Sterilizer − a device for the sterilization of various instruments.
Pressure
(Autoclave) Sterilizer − a fixture (pressure vessel) designed to use
steam under pressure for sterilizing.
Pressure
Instrument Washer-Sterilizer − a fixture (pressure vessel) designed to
both wash and sterilize instruments during the operating cycle of the fixture.
Sterilizer
Vent − a separate pipe or stack that is trapped below the lowest exhaust
and indirectly connected to the building drainage systems and that receives the
vapors from non-pressure sterilizers, or the exhaust vapors from pressure
sterilizers, and conducts the vapors directly to the outside atmosphere.
Sometimes called a vapor, steam, atmospheric or exhaust vent.
Water
Sterilizer − a device for sterilizing water and storing sterile water.
"Storm
Sewer": A sewer that is used for conveying rain water, surface water,
ground water, subsurface water, site drainage, condensate, cooling water or
other similar liquid waste (excluding sewage) from the building storm drain to
an approved point of discharge.
"Sub-soil
Drain": A drain that collects sub-soil drainage and conveys it to a place
of disposal.
"Sub-soil Drainage": Liquid waste, such as run-off
water, seepage water or clear water waste, free of fecal matter and graywater.
"Sump":
A receptacle that receives sanitary or storm waste, located below the normal
grade level of the gravity system and emptied by pumping or gravity.
"Sump Pump": A pump for the removal of storm,
subsoil and clear water waste drainage from a sump.
"Supports": A hanger, anchor or other device for
securing or holding pipe fixtures to walls, ceilings, floors or structural
members.
"Swimming
Pool": See the Swimming Facility Act for minimum sanitary requirements
for the design and operation of swimming facilities.
"Tempered Water": Water ranging in temperature
from 85 degrees Fahrenheit to, but not including, 120 degrees Fahrenheit.
"Terminal Heating Device": A device located within
the environment to be conditioned that directly transfers its heating energy by
radiation or forced or gravity convection.
"Test Cock": A small cock, faucet or valve set in
a water pipe, pump, backflow device or water jacket and used to drain water or
test pressure.
"Toxic": Not fit for human consumption; poisonous.
"Toxic Transfer Fluids": Sanitary waste, graywater,
or mixtures containing harmful substances, including, but not limited to,
ethylene glycol, hydrocarbons, oils, ammonia refrigerants, and hydrazine.
"Trap": A fitting or device designed and
constructed to provide, when properly vented, a liquid seal that will prevent
the back passage of air without materially affecting the flow of sewage or
waste water through it. (See Appendix B.Illustration W.)
"Trap Arm": The portion of a fixture drain between
a trap and its vent.
"Trap Primer": A device or system of piping to
maintain a water seal in a trap.
"Trap Seal": The vertical distance between the
crown weir and the top of the dip of the trap. (See Appendix B.Illustration W.)
"Tube": A cylindrical conduit or conductor, the
wall thickness of which is less than that needed to receive a standard pipe
thread. Compare with "Pipe".
"Tuberculation": A condition that develops on the
interior of pipe due to corrosion, resulting in the creation of small,
hemispherical lumps (tubercules) on the inner walls of the pipe.
"Union": A coupling device used to join two pipes
end-to-end, but allow them to be disconnected and re-connected. This joint can
be assembled and disassembled without removing any adjacent pipes.
"Unisex Restroom": A restroom shared by males and
females and having only one water closet and one lavatory located in the same
room. In addition, a single urinal may be installed.
"Vacuum": A pressure less than atmospheric
pressure, sometimes referred to as suction. It is usually measured in inches
of mercury below atmospheric pressure, such as 10 or 20 inches of mercury. To
vacuum also means to siphon.
"Vacuum Breaker": A device that prevents the
creation of a vacuum by admitting air at atmospheric pressure, used to prevent
back siphonage.
"Vacuum Breaker, Hose Type" or "HVB": A
back siphonage prevention device designed for hose connections that are not
under continuous pressure, and meeting the requirements of ASSE 1011.
"Vacuum Relief Valve": A device to prevent
excessive vacuum in a pressure vessel.
"Vent Pipe": A pipe in a plumbing system that is
used to equalize pressure and ventilate the plumbing system. Also see the
definition of "Vent System".
"Vent Stack": A vertical vent pipe installed
primarily for the purpose of providing circulation of air to and from any part
of the drainage system and terminating to the atmosphere or in the stack vent.
"Vent System": The pipe or pipes installed to
provide a flow of air to or from a drainage system and to provide a circulation
of air within the system to protect trap seals from siphonage and back
pressure.
"Venturi": A short section in a pipe with a
reduced diameter or cross-sectional area (forming a throat) compared to the
larger ends, thereby increasing the velocity of the fluid passing through the
throat and decreasing the pressure at the throat. This decrease in pressure
allows another fluid to be drawn into the venturi.
"Vertical Pipe": Any pipe or fitting that makes an
angle of 45 degrees or less with the vertical.
"Wall Hung Water Closet": A water closet installed
so that no part of the water closet touches the floor.
"Waste" (See "Sanitary Waste".)
"Waste Pipe": A pipe that conveys only waste
material.
"Water
Closet": A fixture with a water-containing receptor that receives liquid
and solid body waste and, on actuation, conveys the waste through an exposed
integral trap into a drainage system. Also referred to as a toilet.
"Water
Distribution Pipe": A pipe within the building or on the premises that
conveys water from the water service to the point of usage.
"Water
Hammer": A concussion or sound of concussion of moving water against the
sides of a containing pipe or vessel due to a sudden stoppage of flow. A
pressure that results from a sudden deceleration of flow of water in a closed
conduit. It is also called hydraulic shock.
"Water Hammer Arrester": A device to absorb
hydraulic shock.
"Water Heater": An appliance for supplying hot
water for domestic or commercial purposes. It may be used for space heating if
the water temperature does not exceed 150 degrees Fahrenheit.
"Water Main": A water supply pipe for public or
community use.
"Water Outlet": An opening through which water is
supplied to a fixture, device, appliance or appurtenance, or into the
atmosphere.
"Water Riser Pipe" (See "Riser".)
"Water
Service" or "Water Service Pipe": The pipe from the water main
or source of potable water supply to the water distribution pipe of the
building served.
"Water Supply Fixture Unit" or "WSFU":
The mathematical factor used by the plumbing industry to estimate the probable
demand on the water supply system (considering the volume, duration of flow,
and intervals between operations) caused by various plumbing fixtures.
"Water Supply Stub": A vertical pipe less than one
story in height supplying one or more fixtures.
"Water Supply System": The water service pipe, the
water distribution pipe, and all fittings, valves and appurtenances in or
associated with the building or premises being served.
"Wet
Vent": A vent that also serves as a drain. (See Appendix B.Illustration
Y.)
"Yard Hydrant": A valve or faucet for drawing
water from a buried pipe that includes a stand pipe with a valve or faucet at
the upper end and a threaded valve outlet to which a hose may be attached.
"Yoke Vent": A pipe connecting upward from a soil
or waste stack to a vent stack for the purpose of preventing pressure changes
in the stack. (See Appendix B.Illustration Z.)
(Source: Amended at 38 Ill.
Reg. 9940, effective April 24, 2014)
 | TITLE 77: PUBLIC HEALTH
CHAPTER I: DEPARTMENT OF PUBLIC HEALTH SUBCHAPTER r: WATER AND SEWAGE
PART 890
ILLINOIS PLUMBING CODE
SECTION 890.130 INCORPORATED AND REFERENCED MATERIALS
Section 890.130 Incorporated
and Referenced Materials
a) The
following State and federal statutes and State administrative rules are
referenced in this Part:
1) Illinois
Plumbing License Law [225 ILCS 320]
2) Private
Sewage Disposal Licensing Act [225 ILCS 225]
3) Illinois
Groundwater Protection Act [415 ILCS 55]
4) Swimming
Facility Act [210 ILCS 125]
5) Illinois
Safe Bottled Water Act [410 ILCS 655]
6) Illinois
Bottled Water Act [815 ILCS 310]
7) Bed and
Breakfast Act [50 ILCS 820]
8) Hazardous
Substances Act (15 USC 1263)
9) Primary
Drinking Water Standards (35 Ill. Adm. Code 611)
10) Design,
Operation and Maintenance Criteria (Specific Conditions and Installation Procedures)
(35 Ill. Adm. Code 653.802)
11) Private
Sewage Disposal Code (77 Ill. Adm. Code 905)
12) Illinois
Accessibility Code (71 Ill. Adm. Code 400)
13) Food
Service Sanitation Code (77 Ill. Adm. Code 750)
14) Youth Camp Code (77
Ill. Adm. Code 810)
15) Recreational Area
Code (77 Ill. Adm. Code 800)
16) Boiler and Pressure
Vessel Safety (41 Ill. Adm. Code 120)
17) Drinking Water
Systems Code (77 Ill. Adm. Code 900)
18) Water Quality
Standards (35 Ill. Adm. Code 302)
19) Energy Policy Act of
1992 (PL 201-486)
20) Lawn
Irrigation Contractor and Lawn Sprinkler System Registration Code (77 Ill. Adm.
Code 892)
21) Safe
Drinking Water Act (42 USC 1417)
22) Certification
and Operation of Environmental Laboratories (77 Ill. Adm. Code 465)
b) See
Appendix A for approved materials and standards that are incorporated by
reference in this Part.
c) The
following nationally recognized standards and federal regulations are
incorporated by reference in this Part (see also Appendix A):
1) 2011
American Society of Heating, Refrigerating and Air-Conditioning Engineers
(ASHRAE) Handbook – HVAC Applications
2) 2012
American Society of Heating, Refrigerating and Air-Conditioning Engineers
(ASHRAE) Handbook – HVAC Systems and Equipment
3) January
20, 2004, Department of Energy: Conservation Program for Consumer Products (10
CFR 430)
d) All incorporations by reference of federal regulations and the
standards of nationally recognized organizations in this Part refer to the
regulations or standards on the date specified and do not include any
amendments or editions subsequent to the date specified.
(Source: Amended at 38 Ill.
Reg. 9940, effective April 24, 2014)
 | TITLE 77: PUBLIC HEALTH
CHAPTER I: DEPARTMENT OF PUBLIC HEALTH SUBCHAPTER r: WATER AND SEWAGE
PART 890
ILLINOIS PLUMBING CODE
SECTION 890.140 COMPLIANCE WITH THIS PART
Section 890.140 Compliance
with this Part
a) Existing Buildings. In existing buildings, including historic
buildings, or premises in which plumbing installations are to be altered,
renovated or replaced, materials and methods shall meet or exceed the
provisions of this Part.
b) Variances
1) When the Department finds that compliance with all
requirements of this Part would result in an undue hardship due to excessive
structural or mechanical difficulty, or impracticability, a variance may be
granted. The request for a variance shall be submitted in writing to the
Department for approval prior to installation.
2) The Department will consider variances to this Part when the
applicant has provided documentation citing the particular portion of this Part
for which a variance is sought and has provided justification sufficient, in
the opinion of the Department, to demonstrate that the variance will not create
a condition less protective than that portion of this Part addressed in the
variance request. Issuance of variances to this Part is at the sole discretion
of the Department and may not be delegated or assumed by any other authority
identified in this Part. Variance authorizations may be conditioned as
determined by the Department and are not precedential.
c) Health and Safety. When a health or safety hazard exists
because of an existing plumbing installation or lack of a plumbing installation,
the owner or his or her agent shall install additional plumbing or make
corrections as necessary to abate the hazard or violation of this Part.
(Source: Amended at 38 Ill. Reg. 9940, effective April 24, 2014)
 | TITLE 77: PUBLIC HEALTH
CHAPTER I: DEPARTMENT OF PUBLIC HEALTH SUBCHAPTER r: WATER AND SEWAGE
PART 890
ILLINOIS PLUMBING CODE
SECTION 890.150 WORKMANSHIP
Section 890.150 Workmanship
a) All plumbing work performed shall comply with the provisions
of this Part.
b) In the process of installing or repairing any part of a
plumbing system, the floors, walls, ceilings, tile work, or any other part of
the building or premises which must be changed, altered or replaced shall be
left in a safe structural condition so as not to pose a health or safety
hazard.
c) Exterior/interior openings through walls, floors, and ceilings
shall have the annular space around pipes properly closed to prevent the
entrance of mice, rats or other rodents. Exterior wall openings shall be made water-tight.
 | TITLE 77: PUBLIC HEALTH
CHAPTER I: DEPARTMENT OF PUBLIC HEALTH SUBCHAPTER r: WATER AND SEWAGE
PART 890
ILLINOIS PLUMBING CODE
SECTION 890.160 USED PLUMBING MATERIAL, EQUIPMENT, FIXTURES
Section 890.160 Used
Plumbing Material, Equipment, Fixtures
a) Previously used plumbing material, equipment and/or fixtures
may be re-used for plumbing installations only if it complies with this Part at
the time of the new installation.
b) Used pipe or fittings shall not be installed in a potable
water system.
 | TITLE 77: PUBLIC HEALTH
CHAPTER I: DEPARTMENT OF PUBLIC HEALTH SUBCHAPTER r: WATER AND SEWAGE
PART 890
ILLINOIS PLUMBING CODE
SECTION 890.170 SEWER AND/OR WATER REQUIRED
Section 890.170 Sewer and/or
Water Required
a) Each building which is intended for human habitation or
occupancy shall have a connection to a public water system, a semi-private
water system, or a private water supply constructed in accordance with the
requirements of the Illinois Water Well Construction Code (77 Ill. Adm. Code
920) or the Surface Source Water Treatment Code ( 77 Ill. Adm. Code 930), and a
connection to a public sewer system or private sewage disposal system
constructed to the requirements of the Illinois Private Sewage Disposal Code (77
Ill. Adm. Code 905). All installations shall also be in accordance with any
additional applicable State and local laws, ordinances, rules and regulations
and local codes.
b) For purposes of this Section, individually owned residences
that share a common wall or ownership right and have ground floor access, such
as townhouses or rowhouses, shall be treated as separate buildings and shall
have separate connections to a public water system, a semi-private water system
or a private water supply as required in subsection (a) of this Section. However,
such individually owned residences established as part of a condominium
association may use a single water supply service line from the public water
supply to a centralized location, such as an exterior manifold or meter room
with independent shutoff valves to each unit. There shall be a main shutoff
valve at the property line. Such arrangements shall comply with requirements
set forth by the local water department or water authority.
c) Private Water Supply Interconnection.
1) A
private water supply shall not be interconnected with a public water system
unless it is located and constructed in accordance with the Water Well
Construction Code (77 Ill. Adm. Code 920) and Water Well and Pump Installation
Code (77 Ill. Adm. Code 925), and the public water system is protected against
backflow and back siphonage as specified in Section 890.1130.
2) No
physical connection shall be permitted between the potable water system and any
non-potable water source.
d) All plumbing fixtures, drains, appurtenances, and appliances
used to receive or discharge sanitary waste shall be connected to the drainage
system of the building or premises in accordance with the requirements of this
Part.
(Source: Amended at 28 Ill.
Reg. 4215, effective February 18, 2004)
 | TITLE 77: PUBLIC HEALTH
CHAPTER I: DEPARTMENT OF PUBLIC HEALTH SUBCHAPTER r: WATER AND SEWAGE
PART 890
ILLINOIS PLUMBING CODE
SECTION 890.180 SEWER AND WATER PIPE INSTALLATION
Section 890.180 Sewer and
Water Pipe Installation
a) Trenching and Bedding. Trenches shall be of sufficient width
to permit proper installation of the pipe. If shoring is required, ample
allowance shall be made in the width of the trench for working conditions,
based on the materials and installation methods. If trenches are excavated to
a depth so that the bottom of the trench forms the bed for the pipe, solid and
continual bearing between joints shall be provided and bell holes shall be
provided at points where the pipe is joined. If trenches are excavated to a
depth so that the bottom of the trench does not form the bed for the pipe, the
trench shall be backfilled to the grade of the pipe with sand or fine gravel
placed in layers of 6 inches maximum depth and compacted after each placement.
The pipe shall not be supported on blocks. If rock is encountered in
trenching, it shall be removed to a point at least 3 inches below the grade
line of the trench; the trench shall be backfilled to grade with the sand
tamped in place to provide a uniform bearing for the pipe between joints. The
pipe shall not be allowed to rest on rock at any point. If soft materials of
poor bearing qualities are found at the bottom of the trench, stabilization
shall be achieved by over-excavating at least 2 pipe diameters and refilling
with fine gravel or sand or a concrete foundation. A concrete foundation shall
be bedded and sand tamped in place to provide a uniform bearing for the pipe
joints. All piping in the ground shall be laid on a firm bed for its entire
length.
b) Backfilling. Trenches shall be backfilled until the crown of
the pipe is covered by at least 18 inches of tamped earth to ensure that the
pipe beneath is secure. Loose earth that is free of rocks, broken concrete,
frozen chunks or other rubble shall be carefully placed in the trench in 6 inch
layers and tamped in place. The backfill under and beside the pipe shall be
thoroughly compacted to ensure that the pipe is properly supported. Backfill
shall be placed evenly on both sides of the pipe and tamped to retain proper
alignment.
c) Breakage and Corrosion. Pipes passing under or through walls
or floors shall be protected from breakage caused by stress or strain. Pipes
passing under or through cinder, concrete or other corrosive material shall be
protected from external corrosion, stress or strain by a protecting sleeve or a
wrap-on material. (See Appendix B.Illustration AA.)
d) Sleeves. In exterior walls or floors, the annular space
between sleeves and pipes shall be filled or tightly caulked with a cold tar,
asphalt compound or other equally effective material. (See Appendix B.Illustration
AA.)
e) Buried Piping Parallel to Footings. No buried piping shall be
laid parallel to inside or outside footings, closer than 18 inches to the
footing. (See Appendix B.Illustration BB.)
f) Depth. Piping installed parallel to footings or bearing walls
shall not extend below the 45 degree bearing plane of the wall or footing. (See
Appendix B.Illustration BB.)
(Source: Amended at 38 Ill.
Reg. 9940, effective April 24, 2014)
 | TITLE 77: PUBLIC HEALTH
CHAPTER I: DEPARTMENT OF PUBLIC HEALTH SUBCHAPTER r: WATER AND SEWAGE
PART 890
ILLINOIS PLUMBING CODE
SECTION 890.190 PIPING MEASUREMENTS
Section 890.190 Piping
Measurements
Except where otherwise specified
in this Part, all measurements between pipes, or between pipes and walls or
footings, shall be made from the outside edge nearest the parallel pipe, wall
or footing.
(Source: Amended at 38 Ill.
Reg. 9940, effective April 24, 2014)
 | TITLE 77: PUBLIC HEALTH
CHAPTER I: DEPARTMENT OF PUBLIC HEALTH SUBCHAPTER r: WATER AND SEWAGE
PART 890
ILLINOIS PLUMBING CODE
SECTION 890.200 OPERATION OF PLUMBING EQUIPMENT
Section 890.200 Operation of
Plumbing Equipment
a) All plumbing equipment required by this Part shall be operated
in the manner intended by the manufacturer. No alteration or modifications to
plumbing fixtures, equipment and appurtenances which would negate designed
safety features shall be allowed. All plumbing systems shall be maintained in
a functional, safe and sanitary condition. The owner of the facility shall be
responsible for maintenance of the plumbing system.
b) No groundwater, roof drainage, discharge from footing tile
drains or other storm water wastes shall be discharged into the sanitary
drainage system.
SUBPART B: PLUMBING MATERIALS
 | TITLE 77: PUBLIC HEALTH
CHAPTER I: DEPARTMENT OF PUBLIC HEALTH SUBCHAPTER r: WATER AND SEWAGE
PART 890
ILLINOIS PLUMBING CODE
SECTION 890.210 MATERIALS
Section 890.210 Materials
All materials, piping,
fittings, appliances, appurtenances, faucets, fixture fittings, fixtures and
devices used in all plumbing systems shall be approved by the Department, in
accordance with the following criteria:
a) Compliance with the
requirements of this Part.
b) Compliance with the
applicable standard (see Appendix A: Table A).
c) Labeled
by an agency that is approved by the Department or is an ANSI‑accredited
certification program (see Appendix A: Table A).
1) Labeling
indicates that the agency certifies the plumbing material to be in compliance
with applicable standards.
2) Labeling
includes the manufacturer's identification of material. Each length of pipe,
each pipe fitting, trap, fixture, device and appurtenance used in a plumbing
system shall have cast, stamped or indelibly marked on it the maker's mark or
name, the weight, type, class of product and the standard that applies.
d) Testing.
The approved agency has tested a representative sample of the material or
piping being labeled to the relevant standard. The approved agency maintains a
record of all tests performed, which provides sufficient detail to verify
compliance with the testing standard.
e) Inspection
and identification. The approved agency periodically performs inspections,
which shall include in-plant inspections during the manufacturing process, to
verify that the product being manufactured meets the applicable standard.
f) Independent. The
approved agency discloses all possible conflicts of interest.
g) Equipment.
An approved agency has necessary equipment to perform all required tests. The
equipment shall be calibrated according to manufacturer's recommendations.
h) Personnel.
An approved agency employs personnel experienced and educated in conducting,
supervising and evaluating tests.
i) Manufacturer's
Identification of Material. The approved agency ensures that each length of
pipe, each pipe fitting, trap, fixture, device and appurtenance used in a
plumbing system has cast, stamped or indelibly marked on it the maker's mark or
name, weight, type, class of product and the standard that applies.
(Source: Amended at 28 Ill.
Reg. 4215, effective February 18, 2004)
 | TITLE 77: PUBLIC HEALTH
CHAPTER I: DEPARTMENT OF PUBLIC HEALTH SUBCHAPTER r: WATER AND SEWAGE
PART 890
ILLINOIS PLUMBING CODE
SECTION 890.220 IDENTIFICATION (REPEALED)
Section 890.220
Identification (Repealed)
(Source: Repealed at 28 Ill.
Reg. 4215, effective February 18, 2004)
 | TITLE 77: PUBLIC HEALTH
CHAPTER I: DEPARTMENT OF PUBLIC HEALTH SUBCHAPTER r: WATER AND SEWAGE
PART 890
ILLINOIS PLUMBING CODE
SECTION 890.230 SAFE PAN MATERIAL AND CONSTRUCTION
Section 890.230 Safe Pan
Material and Construction
a) Material. Safe pans shall be made only of lead, copper,
aluminum, galvanized steel, stainless steel, ABS, PVC or fiberglass material.
1) Lead sheets for safe pans shall weigh at least 4 pounds per
square foot.
2) Copper sheets for safe pans shall weigh at least 12 ounces per
square foot.
3) Aluminum, galvanized steel and stainless steel safe pans shall
be of at least 24 gauge material.
4) ABS or PVC safe pans or liners shall be 30 mil or 40 mil.
5) Fiberglass for safe pans or liners shall be equally durable to
the ABS and PVC material described in subsection (a)(3) of this Section.
b) Construction. All safe pans shall be constructed with preformed
dam corners, shall be watertight, adequately reinforced and provided with a
drain opening designed to make a watertight joint. ABS and PVC safe pans and
liners shall be solvent welded together with the proper cement.
(Source: Amended at 28 Ill.
Reg. 4215, effective February 18, 2004)
SUBPART C: JOINTS AND CONNECTIONS
 | TITLE 77: PUBLIC HEALTH
CHAPTER I: DEPARTMENT OF PUBLIC HEALTH SUBCHAPTER r: WATER AND SEWAGE
PART 890
ILLINOIS PLUMBING CODE
SECTION 890.310 TIGHTNESS
Section 890.310 Tightness
Joints and Connections. Joints
and connections shall be gas-tight and water-tight.
 | TITLE 77: PUBLIC HEALTH
CHAPTER I: DEPARTMENT OF PUBLIC HEALTH SUBCHAPTER r: WATER AND SEWAGE
PART 890
ILLINOIS PLUMBING CODE
SECTION 890.320 TYPES OF JOINTS
Section 890.320 Types of
Joints
a) Caulked joints. Caulked joints for (drain, waste and vent
systems only) cast iron hub-and-spigot pipe shall be firmly packed with oakum
or hemp and filled with molten lead at least 1 inch deep and be firmly caulked
not to extend more than ⅛ inch below the rim of the hub. Paint, varnish,
or other coatings shall not be permitted on the jointing material until after a
plumbing inspector has been given the opportunity to test and approve or
disapprove the joint. (See Appendix C.Illustration A.)
b) Threaded/Screwed Joints. Threaded joints shall conform to
American National Taper Pipe Thread, ASME B.1.20.1 (General Purpose). All
burrs shall be removed; pipe ends shall be reamed or filed to size of the bore,
and all chips shall be removed. Pipe joints compound shall be insoluble in
water and non-toxic.
c) Wiped Joints. Joints in lead pipe or fittings, or between
lead pipe fittings and brass or copper pipe ferrules, solder nipples, or traps
shall be full-wiped joints. Wiped joints shall have exposed surface on each
side of the joint at least ¾ inch and at least as thick as the material being
joined. Wall or floor flange lead-wiped joints shall be made by using a lead
ring or flange placed behind the joints at the wall or floor. Joints between
lead pipe and cast iron, steel or wrought iron shall be made by means of a
caulking ferrule, soldering nipple or bushing.
d) Soldered Joints. The surface to be soldered shall be cleaned
bright. The joints shall be properly fluxed (lead free) and made with approved
lead free solder conforming to ASTM Standard B32. Joints in copper water
tubing shall be made with approved cast bronze or wrought copper pressure
fittings, properly soldered together. All solders or flux containing more than
0.2 percent lead shall bear a warning label that states that the solder or flux
is not approved for private or potable water use as required by Section 4 of
the federal Hazardous Substances Act (15 USC 1263). Use of this product in
making joints or fittings in any private or public potable water system is
prohibited. No part of a drain, waste and vent (DWV) system shall be joined or
fitted with a solder or flux containing more than 0.2 percent lead.
e) Flared Joints. Flared joints for plastic pipe and tubing and
soft copper water tubing shall be made with approved fittings. The tubing
shall be expanded with a proper flaring tool. (See Appendix C.Illustration B.)
f) Hot-Poured Joints. Hot-poured compound for clay or concrete
sewer pipe shall not be water absorbent and when poured against a dry surface
shall have a bond of at least 100 pounds per square inch (psi). All surfaces
of the joint shall be cleaned and dried before pouring. If wet surfaces are
unavoidable, a primer such as oil or tar shall be applied. The compound shall
not soften sufficiently to destroy effectiveness of the joint when subjected to
a temperature of 160 degrees Fahrenheit, and not be soluble in any of the waste
carried by the drainage system. Approximately 25 percent of the joint space at
the base of the socket shall be filled with jute or hemp. A pouring collar
rope or other device shall be used to hold the hot compound during pouring.
Each joint shall be poured in one operation until the joint is filled. Joints
shall not be tested until one hour after pouring.
g) Precast Joints. Precast collars shall be formed in both the
spigot and bell of the pipe in advance of use. Prior to making joint contact,
surfaces shall be cleaned. When the spigot end is inserted in the collar, it
shall bind before contacting the base of the socket.
h) Brazed Joints. Brazed joints shall be made by first cleaning
the surface to be joined down to the base metal, applying flux approved for brazed
joints and for the filler metal to be used, and making the joints by heating to
a temperature sufficient to melt the approved brazing filler metal on contact.
(See Section 890.330(b).) An extracted mechanical joint may be made in copper
tube types K or L only for water distribution. The joint shall be made with a
mechanical extraction tool and joined by brazing. To prevent the branch tube
from being inserted beyond the depth of the extracted joint, depth stops shall
be provided. This joint shall be for above-ground use only.
i) Cement Mortar Joints. Except for repairs, cement mortar
joints are prohibited.
j) Burned Lead (Welded). (For DWV system only) Every burned
(welded) joint shall be made so that the two or more sections to be joined
shall be uniformly fused together into one continuous piece. The weld shall be
at least as thick as the lead being joined.
k) Bituminized Fiber Pipe Joints. Joints in bituminized fiber
pipe shall be made with tapered type couplings of the same composition as the
pipe. Joints between bituminized fiber pipe and metal pipe shall be made by
means of an adaptor coupling caulked as required in subsection (a).
l) Plastic Pipe Joints
1) Every joint in plastic piping shall be made with approved
fittings by either solvent-welded or fusion-welded connections, compression fittings,
approved insert fittings, metal clamps and screws of corrosion-resistant
material, or threaded joints. (See Appendix A.Table A for approved pipe,
fittings and solvent.)
2) Joints and Fittings in Plastic Pipe. Potable water piping
fittings and joints shall be in accordance with the manufacturer's
recommendations subject to the following: (See Appendix A.Table A,
"Approved Standards for Fittings".)
A) Polyethylene (PE) pipe shall be installed only with compression
fittings, insert and clamp type fittings or thermal-welded joints and
fittings. All clamps shall be of corrosion-resistant material. The inside
diameter (ID) of any insert fitting shall not be less than the minimum
allowable size for water service/distribution piping. (See Appendix A.Tables
D, N and O, for minimum allowable sizes for water service/distribution piping.)
B) Polyvinyl chloride (PVC) pipe shall be installed with solvent-welded
or flanged joints only. The pipe shall not be threaded. Transition to
metallic or other piping shall be made with the use of adaptor fittings. The
fittings shall be molded from PVC. The primer and solvent cement used shall be
in accordance with the manufacturer's recommendation for PVC piping.
C) Polybutylene (PB) pipe shall be installed only with insert and
clamp type fittings, compression type, flanged type, or thermal-welded joints
and fittings. All clamps shall be of corrosion-resistant material. The ID of
any insert fitting shall not be less than the minimum allowable size for water
service/distribution piping. (See Appendix A.Tables D, N and O, for minimum
allowable sizes for water service/distribution piping.)
3) Joints in Plastic Drainage. Joints in plastic drainage piping
or vent piping within a building shall be solvent welded. Threaded or flanged
joints may be used with adaptor fittings. The solvent cement shall be specific
for the type of piping material listed in Appendix A.Table A. O-ring expansion
joints are acceptable if accessible.
m) Ground Joint Connections. Ground joint connections (when
accessible) may be used on the inlet or outlet side of a fixture trap or within
the trap seal. Ground joint connections shall not be used in any inaccessible
drainage piping.
n) No-Hub Soil Pipe Joints. Shielded joints for no-hub cast iron
soil pipe shall be made with an elastomeric gasket covered by either a
stainless steel shield secured by two or more stainless steel bands or clamps,
or covered by cast iron couplings secured with stainless steel nuts and bolts.
When a stainless steel shield is used, the shield and clamps shall be corrosion
resistant and homogeneous throughout. The joint materials shall comply with
ASTM C564 and CISPI 310 or FM 1680.
o) Compression Type Joints
1) Compression type joints for hub and spigot cast iron soil pipe
shall be made with neoprene insert gaskets in accordance with ASTM C564. The
pipe shall comply with the specifications contained in ASTM A-74 with regard to
hub and spigot dimensions and tolerances. (See Appendix C.Illustration C.)
2) Compression type joints for copper water tube or brass tube
shall be made with brass ferrules and ground joint connections.
p) Grooved Type Mechanical Couplings
1) Cut grooved type mechanical couplings, fittings and valves
used on standard weight galvanized steel pipe, cast iron pipe or ductile iron
pipe shall comply with the grooving dimensions of the AWWA specifications C606,
limited to water distribution piping and downspout pipe above ground.
2) Rolled grooved type mechanical couplings, fittings and valves
used on standard weight galvanized steel pipe or type K or L copper tubing
shall comply with the manufacturer's standard, limited to water distribution
piping above ground. Fittings, couplings, and valves shall be compatible with
the pipe material. Transition adapters shall be dielectric type.
3) Gaskets for use with potable water piping shall be fabricated
from material that is non-toxic, durable and impervious.
q) Copper Press Fittings. Copper press fittings for joining
copper water tubing shall have an elastomeric o-ring that forms the joint. The
fitting shall be made by pressing the socket joint under pressure in accordance
with the manufacturer's installation requirements and NSF/ANSI Standard 61.
(Source: Amended at 38 Ill.
Reg. 9940, effective April 24, 2014)
 | TITLE 77: PUBLIC HEALTH
CHAPTER I: DEPARTMENT OF PUBLIC HEALTH SUBCHAPTER r: WATER AND SEWAGE
PART 890
ILLINOIS PLUMBING CODE
SECTION 890.330 SPECIAL JOINTS
Section 890.330 Special
Joints
a) Copper Tubing to Screwed Pipe Joints. Joints from copper
tubing to threaded pipe shall be made by the use of a cast bronze or wrought
copper adaptor fitting. The joint between copper tubing and the fitting shall
be soldered or, if flared or compression, must be accessible.
b) Welding or Brazing. Brazing or welding shall be in accordance
with the provisions of Section 6 of the Code for Pressure Piping, ASME B31.1.
c) Slip Joints. In drainage and water piping, slip joints may be
used on the inlet side of the trap or in the trap seal, and on the exposed
fixture supply. Slip joints shall not be used in any inaccessible piping.
Push-on angle and straight stop valves are permitted, provided that they meet
the following specifications: they are installed by being pushed onto copper or
chlorinated polyvinyl chloride (CPVC); they are mechanically secured by metal
tabs that grip the piping; they are sealed with o-rings; and they are capable
of withstanding a water pressure of 150 psi and a temperature of 210 degrees
Fahrenheit.
d) Expansion Joints. Expansion joints shall be accessible and
may be used where necessary to provide for expansion or contraction of the
piping. The expansion joint material shall conform to the type of piping on
which it is installed.
e) Compression type couplings shall not be used in unexposed
water piping except for water services, water meter yokes, and stop box
connections.
f) Grooved Type Mechanical Couplings. Grooved type mechanical
couplings, in accordance with Section 890.320(p), may be used in potable water
and roof drain piping. These couplings shall not be used in waste, soil or
vent piping.
g) Plastic Pipe to Non-Plastic Pipe Joints. Joints between
plastic pipe and non-plastic pipe shall be made only by one of the following
methods:
1) Pressure Piping
A) Approved insert fittings (in accordance with Appendix A.Table
A);
B) Threaded adaptors;
C) Flanges; or
D) Flared fittings.
2) Non-pressure Piping − DWV
A) Caulked lead joints with caulked adaptors;
B) No-hub soil pipe shielded couplings with approved adaptor
having a raised bead;
C) Compression type joints for hub and spigot cast iron pipe; or
D) Threaded adaptors.
(Source: Amended at 38 Ill.
Reg. 9940, effective April 24, 2014)
 | TITLE 77: PUBLIC HEALTH
CHAPTER I: DEPARTMENT OF PUBLIC HEALTH SUBCHAPTER r: WATER AND SEWAGE
PART 890
ILLINOIS PLUMBING CODE
SECTION 890.340 USE OF JOINTS
Section 890.340 Use of
Joints
a) Clay Sewer Pipe. Joints in vitrified clay pipe or between vitrified
clay pipe and metal pipe shall be made with a neoprene gasket and stainless
steel bands or as provided in Section 890.320(f), (g) or (o), if applicable.
b) Concrete Sewer Pipe. Joints in concrete sewer pipe or between
concrete sewer pipe and metal pipe shall be made with a neoprene gasket and
stainless steel bands or as provided in Section 890.320(f), (g) or (o), if
applicable.
c) Cast Iron Pipe. A joint in cast iron water supply pipe shall
be made in accordance with Section 890.320(a) and (b) or shall be a mechanical
joint in accordance with AWWA C151. Joints in cast iron soil pipe shall be
made in accordance with Section 890.320(a), (b), (n), (o) or (p).
d) Screw Pipe to Cast Iron. Joints between wrought iron, steel,
brass, or copper pipe and cast iron pipe shall be either caulked or threaded
joints that are made as provided in Section 890.320(a) or (b) and shall be made
with proper adaptor fittings.
e) Lead to Cast Iron, Wrought Iron or Steel. Joints between lead
and cast iron, wrought iron, or steel pipe shall be made by means of wiped
joints to a caulking ferrule, soldering nipple, or bushing as provided in
Section 890.320(c).
f) Copper Water Tube. Joints in copper tubing shall be made with
cast bronze or wrought copper pressure fittings, properly soldered or brazed,
or by means of compression or flared joints as provided in Sections 890.320(d),
(e), (h) and (p)(2). Flared joints and compression fittings shall not be
installed underground except for water services, water meter yokes, and stop box
connections.
g) Plastic Pipe. Joints between plastic pipe and non-plastic
material shall be made only with an appropriate type adaptor as provided in
Section 890.320(l) and 890.330(g).
1) Plastic-Commingling. There shall be no commingling of plastic
materials within the same plumbing system except through the use of proper
adaptors or approved solvent as listed in Appendix A.Table A, for connections
transitioning from one material to another, only.
2) Plastic Pipe. Plastic pipe shall not be installed in any
tunnel or chase that contains uninsulated hot water, hot air or steam piping that
causes the ambient air temperature in the tunnel or chase to exceed 180 degrees
Fahrenheit.
h) Building Sewer Connections. An elastomeric coupling seal
conforming to ASTM C 425, ASTM C 443, ASTM C 564, ASTM D 4161, ASTM F 477, ASTM
D 3139, ASTM D 3212, or ASTM D 412 tests may be used to adapt any two building
sewer pipes for different materials or size changes. The flexible couplings
shall be attached to the pipe with stainless steel clamps or bolts. The
manufacturer's recommended method of installation shall be followed.
(Source: Amended at 38 Ill.
Reg. 9940, effective April 24, 2014)
 | TITLE 77: PUBLIC HEALTH
CHAPTER I: DEPARTMENT OF PUBLIC HEALTH SUBCHAPTER r: WATER AND SEWAGE
PART 890
ILLINOIS PLUMBING CODE
SECTION 890.350 UNIONS
Section 890.350 Unions
Unions may be used in the
drainage and venting system when accessibly located above ground. Unions shall
be installed in a water supply system within 5 feet of regulating equipment,
water heaters, water conditioning tanks, water conditioning equipment, pumps,
and similar equipment which may require service by removal or replacement.
Where small equipment may be unscrewed, only one union shall be required.
a) Drainage System. Unions may be used in the trap seal and on
the inlet and outlet side of the trap. Unions shall have metal to metal seats
except that plastic unions may have plastic to plastic seats.
b) Water Supply System. Unions in the water supply system shall
be metal to metal with ground seats, except that plastic to metal unions may
utilize durable, non-toxic, impervious gaskets. Unions between copper
pipe/tubing and dissimilar metals shall either be made with a brass converter
fitting or be a dielectric type union.
(Source: Amended at 28 Ill.
Reg. 4215, effective February 18, 2004)
 | TITLE 77: PUBLIC HEALTH
CHAPTER I: DEPARTMENT OF PUBLIC HEALTH SUBCHAPTER r: WATER AND SEWAGE
PART 890
ILLINOIS PLUMBING CODE
SECTION 890.360 WATER CLOSET AND PEDESTAL URINAL
Section 890.360 Water Closet
and Pedestal Urinal
Fixture connections between
drainage pipes and water closets, floor outlet service sinks and pedestal
urinals, and earthenware trap standards shall be made by means of brass,
copper, hard lead, plastic, or iron flanges; caulked, soldered, screwed or solvent
welded to the drainage pipe. Flanges of hard lead, plastic and iron flanges
for no-hub or compression joints shall be secured to the floor. The connection
shall be bolted, with a gasket, washer or setting compound, between the
earthenware and the flange. The floor flange shall be set on an approved firm
base. The use of putty or non-drying plumber's putty manufactured specifically
for plumbing installation is acceptable.
 | TITLE 77: PUBLIC HEALTH
CHAPTER I: DEPARTMENT OF PUBLIC HEALTH SUBCHAPTER r: WATER AND SEWAGE
PART 890
ILLINOIS PLUMBING CODE
SECTION 890.370 PROHIBITED JOINTS AND CONNECTIONS IN DRAINAGE SYSTEMS
Section 890.370 Prohibited
Joints and Connections in Drainage Systems
Drainage System. Any fitting or
connection which has an enlargement, chamber, or recess with a ledge, shoulder,
or reduction of pipe area that offers an obstruction to flow through the drain
is prohibited. No fitting or connection that obstructs flow shall be used. In
existing buildings only a flow control valve or device may be connected to the
fixture drain and shall not be considered as an obstruction. The enlargement
of a three (3) inch closet bend or stub to four (4) inches shall not be
considered an obstruction.
 | TITLE 77: PUBLIC HEALTH
CHAPTER I: DEPARTMENT OF PUBLIC HEALTH SUBCHAPTER r: WATER AND SEWAGE
PART 890
ILLINOIS PLUMBING CODE
SECTION 890.380 INCREASERS AND REDUCERS
Section 890.380 Increasers
and Reducers
Different Sizes. Where
different sizes of pipes or pipes and fittings are to be connected, the
approved proper size increasers, reducers or reducing fittings shall be used
between the two sizes.
SUBPART D: TRAPS AND CLEANOUTS
 | TITLE 77: PUBLIC HEALTH
CHAPTER I: DEPARTMENT OF PUBLIC HEALTH SUBCHAPTER r: WATER AND SEWAGE
PART 890
ILLINOIS PLUMBING CODE
SECTION 890.410 FIXTURE TRAPS/CONTINUOUS WASTE
Section 890.410 Fixture
Traps/Continuous Waste
a) Fixture Traps. All directly connected plumbing fixtures,
except those having integral traps, shall be separately trapped by a water-seal
trap, placed as close to the fixture outlet as possible. A kitchen sink with
up to three basins may be installed on one trap if one compartment is not more
than 6 inches deeper than the other and the waste outlets are not more than 30
inches apart. (See Appendix D.Illustration A.)
b) Distance of Trap to Fixture. The developed length from the
fixture outlet to the trap weir shall not exceed 24 inches, except that an
interceptor used as a trap shall be located as close as possible to the
fixture. The maximum developed length from the fixture outlet to the inlet of
the interceptor shall not exceed 5 feet. (See Appendix D.Illustration B.) The
standpipe inlet for an automatic clothes washer shall not exceed 48 inches
above the weir of a trap.
c) Trap Size. The size of trap for a fixture shall comply with
Appendix A.Table E for minimum size of traps. No trap shall be larger than the
fixture drain to which it is connected or the drainage pipe into which it
discharges.
d) Type of Traps. Traps shall have a uniform and smooth
interior, and shall have no partitions or movable parts. The trap seal shall
be non-adjustable. (See Appendix D.Illustration C.)
e) Drum
Traps. Drum traps shall be 3 or 4 inches in diameter and provided with a fixed
water seal of at least 2 inches. The trap cleanout shall be one size less than
the trap diameter.
f) Trap Seal. Each trap shall have a water seal of 2 inches
except where a deeper seal is required to prevent the loss of the trap seal by
evaporation. Where loss of the trap seal may occur due to evaporation, one of
the following shall be used:
1) Vegetable oil may be added to the trap.
2) A deeper seal not to exceed 8 inches may be used.
3) An automatic trap primer may be used.
g) Trap Cleanouts
1) Each fixture trap, except those cast integrally or in
combination with fixtures in which the trap seal is readily accessible or
except when a portion of the trap is readily removable for cleaning purposes,
shall have an accessible threaded or cam lock cleanout plug of ample size
protected by the water seal. (Exception: See subsection (g)(4).) The cleanout
plug shall be of brass or other non-corrosive type material. (See Appendix D.Illustration
D.)
2) Trap cleanouts shall be made gas and water-tight with a
threaded cleanout plug and approved washer.
3) A P-trap that is used on a bath waste shall be directly below
the tub overflow. The overflow shall be fastened to the tub by means other
than the face plate.
4) A P-trap on a plumbing fixture that is not accessible may be
installed without a cleanout plug or having a portion of the trap readily
removable, provided that there is access to a cleanout within 3 feet of the
trap.
h) Trap Level and Protection. Traps shall be set level with
respect to their water seals and, where necessary, they shall be protected from
freezing.
i) Traps Underground. Underground traps shall be provided with
accessible and removable cleanouts, except for separate "P" traps
into which floor drains, urinals and other fixtures with removable drain
strainers discharge.
j) Building (House) Traps. No trap shall be installed at the
base of a soil or waste stack or in a building drain.
k) Prohibited Traps. Use of the following traps is prohibited
(see Appendix D.Illustration E):
1) Traps that depend upon the action of movable parts for their
seal;
2) Full "S" traps. Exception: Water closet and
similar fixtures that depend on self-siphonage for their proper operation;
3) Bell traps;
4) Crown vented traps;
5) Unvented running traps; and
6) Fixtures with concealed interior partitioned traps.
Exception: Fixtures with integral traps constructed of vitrified earthenware
and penal institutional fixtures with integral traps constructed of ferrous
material.
l) Double Trapping. No fixture shall be double trapped.
(Source: Amended at 38 Ill.
Reg. 9940, effective April 24, 2014)
 | TITLE 77: PUBLIC HEALTH
CHAPTER I: DEPARTMENT OF PUBLIC HEALTH SUBCHAPTER r: WATER AND SEWAGE
PART 890
ILLINOIS PLUMBING CODE
SECTION 890.420 PIPE CLEANOUTS
Section 890.420 Pipe
Cleanouts
a) Location of Cleanouts Within a Building Drain
1) Cleanouts shall be not more than 50 feet apart, including the
developed length of the cleanout pipe, in horizontal drainage lines of 4 inches
or less size. Cleanouts shall be not more than 100 feet apart, including the
developed length of the cleanout pipe, in horizontal drainage lines of over 4 inches
to 10 inches in size. Cleanouts shall not be more than 150 feet apart,
including the developed length of the cleanout pipe, in horizontal drainage
lines exceeding 10 inches in size. For underground drainage lines exceeding 10
inches in size, manholes instead of cleanouts shall be provided and shall be
located at intervals of not more than 150 feet.
2) When it is necessary to conceal a cleanout plug, a readily
accessible covering plate or access door shall be provided.
3) A test tee at the base of the stack may be used as a cleanout.
4) A full size cleanout shall be located within 5 feet of the
building foundation, inside or outside, in direct line with the building drain
and sewer.
5) All cleanouts in vertical stacks shall be located no higher
than 48 inches above the floor.
b) Change of Direction. A cleanout or manhole shall be installed
at each change of direction of the horizontal building drainage system greater
than 60 degrees; the total of the fittings between cleanouts or manholes shall
not exceed 120 degrees. A manhole within a building shall be provided with an
iron cover which shall be securely bolted in place and made gas and water-tight
with a soft metallic gasket.
c) Underground Drainage. When installed on an underground drain,
cleanouts shall be extended to or above the finished grade level; or may be
extended to outside of the building. (See Appendix D: Illustration F.)
d) Concealed Piping. Cleanouts on concealed piping shall be
extended through and terminate flush with the finished wall or floor; or pits
or chases may be left in the wall or floor, provided they are of sufficient size
to permit removal of the cleanout plug and cleaning of the system. (See
Appendix D: Illustration G.)
e) Base of Stacks. A cleanout shall be provided at, or no more
than 4 feet above, the base of each vertical waste or soil stack.
f) Buildings with Slab Floors. For buildings with a slab floor
or with less than a 36 inch crawl space under the floor, or where a stack
cleanout is not otherwise readily accessible, one of the following shall be
provided in lieu of a cleanout at the base of the stack:
1) The building drain shall be extended to the outside of the
building and terminated in an accessible cleanout.
2) An accessible 2 way cleanout shall be installed in the
building drain downstream from the stack provided that no other drainage pipe
connects to such pipe inside the walls of the building unless it has its own
cleanout at the base of the stack or extended outside the building.
g) Direction of Flow. Every cleanout shall be installed so that
the cleanout opens in a direction opposite to the flow of the drainage line or
at right angles thereto, except as permitted in subsection (f) of this Section.
h) Cleanout Plugs. A cleanout shall not have a plumbing fixture
installed in it or be used as a floor drain.
i) Cleanouts shall be of the same size as the pipe they serve up
to a maximum of 6 inches, and at least 6 inches for larger pipe.
j) Cleanout Clearance. All cleanouts shall have a clearance of
18 inches for the purpose of rodding. (See Appendix D: Illustration H.)
(Source: Amended at 28 Ill.
Reg. 4215, effective February 18, 2004)
 | TITLE 77: PUBLIC HEALTH
CHAPTER I: DEPARTMENT OF PUBLIC HEALTH SUBCHAPTER r: WATER AND SEWAGE
PART 890
ILLINOIS PLUMBING CODE
SECTION 890.430 CLEANOUT EQUIVALENT
Section 890.430 Cleanout
Equivalent
Fixture Trap. A fixture trap,
readily removable and without disturbing concealed plumbing or requiring
fixture removal, is acceptable as a cleanout equivalent, if there is no more
than one (1) 90 degree bend on the line to be rodded. A water closet is not
considered a cleanout equivalent.
(Source: Amended at 22 Ill. Reg. 21540, effective December 1, 1998)
 | TITLE 77: PUBLIC HEALTH
CHAPTER I: DEPARTMENT OF PUBLIC HEALTH SUBCHAPTER r: WATER AND SEWAGE
PART 890
ILLINOIS PLUMBING CODE
SECTION 890.440 ACID-PROOF TRAPS
Section 890.440 Acid-Proof
Traps
Where a vitrified clay or other
brittleware, acid-proof trap is installed underground, it shall be embedded in
concrete to a thickness of six (6) inches from the bottom and side of the trap.
SUBPART E: INTERCEPTORS - SEPARATORS AND BACKWATER VALVES
 | TITLE 77: PUBLIC HEALTH
CHAPTER I: DEPARTMENT OF PUBLIC HEALTH SUBCHAPTER r: WATER AND SEWAGE
PART 890
ILLINOIS PLUMBING CODE
SECTION 890.510 GREASE INTERCEPTOR REQUIREMENTS
Section 890.510 Grease
Interceptor Requirements
Plumbing systems for
institutions or commercial establishments in which grease, fats, culinary oils
or similar waste products from kitchens or food processing areas are wasted, or
in which grease, fats or culinary oils are wasted in connection with utensil,
vat, dish or floor cleaning processes shall include grease interceptors. All
waste lines and drains carrying grease, fats or culinary oil in these
establishments shall be directed to one or more interceptors. (See Appendix E.Illustrations
A and B.)
a) All required grease interceptors shall comply with the
following:
1) Material and Covers. Grease interceptors shall be constructed
of durable, corrosion-resistant materials and shall have water-tight covers
securely fastened in place.
2) Minimum Size. A grease interceptor installed on the same
floor as the fixture shall have one-half the liquid-holding capacity of the
fixture. A grease interceptor located on a floor below the fixture shall have 60
percent of the liquid-holding capacity of the fixture. To determine the liquid-holding
capacity in gallons of a plumbing fixture, the length is multiplied by the
width by the height in inches and divided by 231. Where two or more sinks or
receptacles are connected to an interceptor the liquid holding capacity shall
be based on the combined volume of the fixtures served.
3) No grease interceptor shall receive the discharge from a food
waste disposal.
4) The flow rate of the interceptor shall be sufficient to handle
the maximum demand of the connected system.
5) All interceptors shall be installed in an accessible location
to permit the convenient removal of the lid and internal contents.
6) All interceptors shall be designed and installed with proper
venting so that they do not become air bound. (See Appendix E.Illustration C.)
b) Prohibited Type. Water cooled grease interceptors are
prohibited.
(Source: Amended at 38 Ill.
Reg. 9940, effective April 24, 2014)
 | TITLE 77: PUBLIC HEALTH
CHAPTER I: DEPARTMENT OF PUBLIC HEALTH SUBCHAPTER r: WATER AND SEWAGE
PART 890
ILLINOIS PLUMBING CODE
SECTION 890.520 GASOLINE, OIL AND FLAMMABLE LIQUIDS
Section 890.520 Gasoline,
Oil and Flammable Liquids
a) Commercial vehicle repair garages, gasoline stations with
grease racks or pits, and oil change facilities shall be provided with floor
drains or trench drains connected to a gas and oil interceptor. If these
facilities are connected to a private sewage disposal system, the floor or
trench drains shall be connected to a holding tank in lieu of a gas and oil
interceptor in accordance with the Private Sewage Disposal Licensing Act.
Where trench drains are used to carry wastes to a gas and oil interceptor, the
trench drain shall either extend the entire length of the work area or shall be
installed in each working stall. For all facilities specified in this Section
in which floor drains are installed, a minimum of one floor drain per working
stall or one floor drain for each 500 square feet shall be installed.
b) Commercial and residential vehicle storage areas greater than
1,000 square feet with floor or trench drains installed shall comply with subsection
(c)(1), (2) or (3). Exception: residential garages with fewer than five
vehicle bays are exempted from this requirement.
c) All facilities, other than those specified in subsection (a),
that generate fuel, oil or flammable waste shall meet one of the following
requirements:
1) provide
floor drains or trench drains connected to a gas and oil interceptor.
2) provide floor or trench drains connected to a holding tank in
lieu of a gas and oil interceptor when these drains are connected to a private
sewage disposal system.
3) provide an alternative system approved by the Department (i.e.,
an oil reclamation system or containment area).
d) General Requirements
1) Gas and oil interceptors shall be of cast iron, steel, polyethylene,
polymer concrete or equally durable fiberglass materials suitable for gas and
oil. Fiberglass interceptors shall not be used for receiving any substance
other than gas and oil. Poured concrete interceptors are prohibited.
2) Each gas and oil interceptor or basin shall be provided with a
heavy metal cover, which shall be bolted into place and made gas and -water-tight.
3) Each gas and oil interceptor and, if provided with separate
compartments, each compartment and basin shall be provided with a vent of at
least 2 inches, which shall extend independently to the outer air. Two or more
vents may be connected to a header, which shall be 6 inches or higher than the
lowest floor or trench drain served.
4) The inlet of the gas and oil interceptor or the first basin
shall be trapped except when floor drains are individually trapped.
5) Floor drains above the level of the gas and oil interceptor or
basins shall connect to a stack vent extending independently to the outer air.
6) Gas and oil interceptors must be constructed in accordance
with the Illinois State Fire Marshal's rules and regulations for underground
storage tanks (41 Ill. Adm. Code 174, 175, 176, 177), when applicable, and
shall be maintained to prevent loss of gas, oil, etc. Gas and oil interceptors using
an automatic draw off feature shall have a separate U.L. approved underground
storage tank or storage tank installed integral with the interceptor.
7) Minimum Dimension. Gas and oil interceptors shall have a
depth of at least 2 feet below the invert of the discharge drain.
8) Performance. The gas and oil interceptor shall have at least
a 12-inch water seal with a minimum 90 percent efficiency rating or have a minimum
of an 18-inch water seal. Gas and oil in the effluent from the gas and oil interceptor
or triple basin shall not exceed the levels specified by the sewage treatment
authority having jurisdiction, in accordance with local ordinances and
regulations.
9) Poured concrete trench drains are prohibited for gas and oil discharges.
e) Aircraft hangars used exclusively for storing aircraft shall
be exempt from this Section under the following conditions:
1) No operation of aircraft or maintenance of any kind,
including, but not limited to, mechanical work upon an aircraft, or aircraft fueling,
oiling, lubricating or washing, may be performed in the hangar.
2) Oil, gasoline or flammable materials of any kind shall not be
stored in the hanger.
3) The hangar shall not be provided with floor drains or trench drains.
4) The hangar shall not contain drains of any kind that are
connected to a public sewer/private sewage disposal system/holding tank.
5) In lieu of the requirements of subsections (e)(1) through (4),
aircraft storage hangars may install floor drains or trench drains that comply
with the requirements of subsections (a) through (e).
f) Sizing
1) The minimum size interceptor for all facilities required to
comply with subsection (a) shall be 6 cubic feet (45 gallons) for the first 500
square feet of floor area plus 1 cubic foot per each additional 500 square feet
to be drained into the interceptor.
2) The minimum size interceptor for all facilities, except those
facilities required to comply with subsection (a), shall be 6 cubic feet (45
gallons) for the first 3,000 gross square feet plus 1 cubic foot per each
additional 1,000 square feet to be drained into the interceptor. Floor area for
parking decks or garages shall be determined by the gross square feet of the
parking spaces.
(Source: Amended at 38 Ill.
Reg. 9940, effective April 24, 2014)
 | TITLE 77: PUBLIC HEALTH
CHAPTER I: DEPARTMENT OF PUBLIC HEALTH SUBCHAPTER r: WATER AND SEWAGE
PART 890
ILLINOIS PLUMBING CODE
SECTION 890.530 SPECIAL WASTE INTERCEPTORS
Section 890.530 Special
Waste Interceptors
a) Catch Basins. In all motor vehicle wash racks, drainage shall
discharge into a water-tight catch basin at least 36 inches in diameter, or 3
feet by 2½ feet (rectangular shape). The bottom shall not be less than 27
inches below the invert of the outlet pipe. The outlet pipe shall be trapped
with a catch basin trap and shall be constructed of cast iron or schedule 40
plastic with a trapseal of at least 6 inches and a cleanout of at least 4
inches in diameter.
b) Commercial laundries shall be equipped with an interceptor
having a removable wire basket or similar device that will prevent materials
detrimental to the sewage system from passing into the system.
c) Sand, bottle and slaughter houses that will produce wastes
that either settle or float (Example: oil or grease from meat packing operations,
bottling establishments or heavy solids.) shall have an interceptor installed that
complies with Section 890.510(a).
d) Interceptor for Special Waste. Before installing any
interceptor for any other flammable or special wastes, a drawing including all
pertinent information shall be submitted to the Department for approval.
(Source: Amended at 38 Ill.
Reg. 9940, effective April 24, 2014)
 | TITLE 77: PUBLIC HEALTH
CHAPTER I: DEPARTMENT OF PUBLIC HEALTH SUBCHAPTER r: WATER AND SEWAGE
PART 890
ILLINOIS PLUMBING CODE
SECTION 890.540 LAUNDRIES (REPEALED)
Section 890.540 Laundries
(Repealed)
(Source: Repealed at 28 Ill.
Reg. 4215, effective February 18, 2004)
 | TITLE 77: PUBLIC HEALTH
CHAPTER I: DEPARTMENT OF PUBLIC HEALTH SUBCHAPTER r: WATER AND SEWAGE
PART 890
ILLINOIS PLUMBING CODE
SECTION 890.550 BACKWATER VALVES SANITARY SYSTEM AND STORM SYSTEM (REPEALED)
Section 890.550 Backwater
Valves – Sanitary System and Storm System (Repealed)
(Source: Repealed at 28 Ill.
Reg. 4215, effective February 18, 2004)
SUBPART F: PLUMBING FIXTURES
 | TITLE 77: PUBLIC HEALTH
CHAPTER I: DEPARTMENT OF PUBLIC HEALTH SUBCHAPTER r: WATER AND SEWAGE
PART 890
ILLINOIS PLUMBING CODE
SECTION 890.610 GENERAL REQUIREMENTS - MATERIAL AND DESIGN
Section 890.610 General
Requirements - Material and Design
a) Quality of Fixtures: Plumbing fixtures shall comply with
approved designs, be constructed from approved materials, have smooth,
impervious surfaces and be free of defects and concealed fouling surfaces. (See
Appendix A: Table A "Approved Materials and Standards for Plumbing
Fixtures" and "Approved Standards for Plumbing
Appliances/Appurtenances/Devices".)
b) Used plumbing material, equipment and fixtures for plumbing
installations shall comply with this Part.
c) Any plumbing equipment condemned by the Department because of
wear, damage, defects or sanitary hazards shall not be used in a plumbing
system.
 | TITLE 77: PUBLIC HEALTH
CHAPTER I: DEPARTMENT OF PUBLIC HEALTH SUBCHAPTER r: WATER AND SEWAGE
PART 890
ILLINOIS PLUMBING CODE
SECTION 890.620 OVERFLOWS
Section 890.620 Overflows
a) Design. When any fixture is provided with an overflow, the
waste piping shall be so designed that the standing water in the fixtures
cannot rise in the overflow when the stopper is closed or remain in the
overflow when the fixture is emptied.
b) Connection. The overflow pipe from a fixture shall be
connected on the house or inlet side of the fixture trap, except that overflows
of flush tanks may discharge into the water closets or urinals served by them.
No overflow shall be connected to any other part of the drainage system.
 | TITLE 77: PUBLIC HEALTH
CHAPTER I: DEPARTMENT OF PUBLIC HEALTH SUBCHAPTER r: WATER AND SEWAGE
PART 890
ILLINOIS PLUMBING CODE
SECTION 890.630 INSTALLATION
Section 890.630 Installation
a) Cleaning. Plumbing fixtures shall be installed in a manner to
afford easy access for cleaning.
b) Securing Fixtures. Floor outlet or wall hung fixtures shall
be secured by screws or bolts of copper, brass or other equally durable
corrosion resistant materials.
c) Wall-Hung Fixtures. Wall-hung fixtures shall be rigidly
supported by a concealed metal supporting member so that no strain is
transmitted to the fixture connection.
d) Setting. Plumbing fixtures and traps shall be set level and
in a true alignment.
e) Potable Water Supply Connection. Hot and cold, tempered and
cold, or tempered water only shall be supplied to all plumbing fixtures that
are designed for hot and cold, tempered and cold, or tempered water. All
mixing faucets and single lever faucets shall have both hot or tempered and
cold water connected to them with the hot or tempered water supply on the left
side of the faucet. The cross piping of hot or tempered and cold water to a
mixing faucet by internal modification of the faucet shall not be allowed. Each
lavatory and sink faucet shall have supply pipes that are accessible.
f) Improper Location. Piping, fixtures or equipment shall not be
located or installed so as to interfere with the normal operation of windows,
doors or other exit openings. Plumbing fixtures shall be installed in an area
where there is sufficient room for the fixture to be used for its intended
purpose.
g) When plumbing is installed it shall meet the requirements of
the Illinois Accessibility Code.
h) Surrounding Materials. Where water closets or urinals are
installed for public use, the flooring under the fixture base extending to at
least 18 inches from the front and both sides of the water closet or urinal,
and extending from the back of the water closet or urinal to the wall, shall be
of non-absorbent material.
i) A water heater thermostat shall not be an acceptable
alternative water temperature control device.
(Source: Amended at 38 Ill.
Reg. 9940, effective April 24, 2014)
 | TITLE 77: PUBLIC HEALTH
CHAPTER I: DEPARTMENT OF PUBLIC HEALTH SUBCHAPTER r: WATER AND SEWAGE
PART 890
ILLINOIS PLUMBING CODE
SECTION 890.640 PROHIBITED FIXTURES
Section 890.640 Prohibited
Fixtures
a) Drinking fountains shall not be installed in public toilet
rooms.
b) Fixed wooden, concrete, cement or tile wash trays or sinks used
for food preparation, utensil washing, or hand washing shall not be installed
in any food service establishment or commercial food establishment.
c) Bathtub liners/inserts are prohibited unless all of the
following conditions are met:
1) Bathtub liners/inserts must be manufactured to an exact fit
over existing bathtubs or be custom fabricated according to the dimensions of
an existing bathtub;
2) The floor (bottom surface) of the liner/insert must have a
slip-resistant surface; and
3) The bathtub liner/insert must be manufactured/fabricated from
high-impact plexiglass/ABS or acrylic/plastic material complying with IAPMO/ANSI
Z124.8 or from porcelain enameled formed steel complying with ASME
A112.19.1/CSA 45.2.
(Source: Amended at 38 Ill.
Reg. 9940, effective April 24, 2014)
 | TITLE 77: PUBLIC HEALTH
CHAPTER I: DEPARTMENT OF PUBLIC HEALTH SUBCHAPTER r: WATER AND SEWAGE
PART 890
ILLINOIS PLUMBING CODE
SECTION 890.650 WATER CLOSETS
Section 890.650 Water
Closets
a) Public Use
1) Water closet bowls for public use shall be the elongated type,
and the seat shall be an antimicrobial plastic open-front seat. Exception:
Water closet bowls for public use may have closed-front seats provided that the
seat is encased with a continuous plastic sleeve capable of providing a clean
surface for every user.
2) The activating handle, button or mechanism of the flush valve
shall be at least 10 inches above the overflow rim of the bowl and not more
than 44 inches above the floor.
3) In schools that are not licensed by the Illinois Department of
Children and Family Services as day care centers or homes, water closets
provided for the use of children under five years of age shall be of size and
height suitable for children's use, either child or juvenile type in accordance
with ASME A112.19.2/CSA B45.1.
4) Water closets designed for institutional use may be used in
intensive care facilities and intensive coronary care facilities provided that the
water closet swings only horizontally and has an integral trap. A water closet
flushometer shall be used to flush the fixture. The plans and specifications
shall be submitted to the Department for approval prior to installation, and
approval will be in writing from the Department provided that the requirements of
this subsection (a) are met.
b) Water Closet Tanks. Water closet tanks shall have a volume
sufficient to properly flush the water closet bowls with which they are
connected.
c) Ballcocks. Ballcocks for flush tanks shall be of the
anti-siphon type, be properly installed, and have a provision for trap refill.
d) Flushing Device. The flush valve seat in all water closet
tanks shall be 1 inch or more above the flood level rim of the water closet
bowl, with the exception of one-piece water closets in accordance with ASME
A112.19.2/CSA B45.1.
e) Flushometer Valve. Flushometer valves shall comply with ASSE
1037. Flushometer valves shall be installed so that they are readily
accessible for repair. When the valve is operated, it shall complete the cycle
of operation automatically, opening fully and closing completely under the
service pressure. At each operation, the valve shall deliver water in
sufficient volume and at a rate that will thoroughly flush the fixture and
refill the fixture trap. Flush valve flow shall be regulated. Protection
against backflow shall be provided by an approved vacuum breaker installed on
the discharge side of the flushing valve. The bottom of the vacuum breaker, or
the critical level line shown on the vacuum breaker, shall be at least 4 inches
above the overflow rim of the bowl (see Section 890.1140(a) and (b)). Not more
than one water closet shall be served by a single flushometer valve.
f) Seats. Water closets shall be equipped with seats of smooth,
non-absorbent material. All seats of water closets provided for public use
shall be an antimicrobial plastic material and an open-front style, except that
closed-front seats may be provided if the seat is encased with a continuous
plastic sleeve ensuring a clean surface for every user. No water closet seat
shall be more than 1½ inches thick. Seats for accessible water closets may be
open or closed front, and may have a lid or not have a lid.
g) A flushometer tank (or pressurized flushometer valve in
accordance with ASSE 1037) shall be used only with a water closet bowl
specifically designed for that type tank/flushing device (i.e., in accordance
with ASME A112.19.2/CSA B45.1) and when the flow pressure at the fixture meets
the manufacturer's minimum recommendations.
h) Water closets that rely on substances other than water for
proper operation shall comply with the Private Sewage Disposal Code. Privies
and chemical toilets shall not be used inside any building.
i) Bidet. A bidet shall be equipped with hot and cold, tempered
and cold, or tempered water only. An atmospheric vacuum breaker shall be
installed on the discharge side of the flushing valve. The bottom of the
vacuum breaker, or the critical level line shown on the vacuum breaker, shall
be at least 4 inches above the overflow rim of the bidet.
j) Prohibited Water Closets. Hopper-style water closets and
water closets with concealed couplings or submerged side inlets are
prohibited. (See Appendix F.Illustration A.)
(Source: Amended at 38 Ill.
Reg. 9940, effective April 24, 2014)
 | TITLE 77: PUBLIC HEALTH
CHAPTER I: DEPARTMENT OF PUBLIC HEALTH SUBCHAPTER r: WATER AND SEWAGE
PART 890
ILLINOIS PLUMBING CODE
SECTION 890.660 URINALS
Section 890.660 Urinals
a) Automatic Flushing Tank.
1) Flushing tanks shall be used for washout urinals only. Tanks
flushing more than one (1) urinal shall be automatic, shall provide a
sufficient volume of water to flush all urinals simultaneously, and shall flush
at least four (4) times per hour. One automatic flushing tank may serve no more
than three (3) washout urinals.
2) Float Valves. Float valves or ball cocks, if provided for
flushing tanks, shall be of the anti-siphon type and of sufficient capacity to
refill the trap.
b) Urinal Flush Valves. No valve shall be used to flush more
than one (1) blow-out, siphon-jet or pedestal urinal. One (1) properly sized
automatic flush valve may serve more than one (1), but not more than a battery
of three (3) washout urinals, and shall flush at least four (4) times per hour.
The water supply line to each urinal flush valve shall be as required by the
manufacturer, but not less than three-fourths (3/4) inch. Protection against
backflow shall be provided by an approved vacuum breaker. (See Sections
890.1130(a), (b), (c) and 890.1140.)
c) Trough urinals are prohibited.
 | TITLE 77: PUBLIC HEALTH
CHAPTER I: DEPARTMENT OF PUBLIC HEALTH SUBCHAPTER r: WATER AND SEWAGE
PART 890
ILLINOIS PLUMBING CODE
SECTION 890.670 STRAINERS AND FIXTURE OUTLETS
Section 890.670 Strainers
and Fixture Outlets
a) Strainers. All plumbing fixtures other than water closets,
urinals with integral traps, and any sink outlet having a disposal unit shall
be provided with a strainer. A pop-up waste shall be considered a strainer.
b) Bathtubs − Waste Outlets. The waste outlet for a
bathtub shall have a strainer or stopper and shall have an outlet at least one
and one-half (1 ½) inches in diameter.
 | TITLE 77: PUBLIC HEALTH
CHAPTER I: DEPARTMENT OF PUBLIC HEALTH SUBCHAPTER r: WATER AND SEWAGE
PART 890
ILLINOIS PLUMBING CODE
SECTION 890.680 LAVATORIES
Section 890.680 Lavatories
a) Waste Outlets. Wastes shall have a strainer or stopper and
have a waste outlet at least 1¼ inches in diameter.
b) Lavatory Faucets. All lavatory faucets shall have air gaps as
specified in Appendix A.Table C.
c) When metering faucets are located on lavatories in public
restrooms, they shall be adjusted to remain open for a minimum of 10 seconds and
shall comply with the water consumption requirements of ASME/ANSI 112.18.1.
Metering faucets shall be designed for hot and cold, tempered and cold, or
tempered water only.
d) Fixture Calculation. Eighteen lineal inches of wash sink or 18
inches of a circular basin, when provided with water outlets for the space,
shall be considered equivalent to one lavatory. (See Appendix F.Illustration
B.)
e) Water Temperature. All lavatory faucets for public use shall
be provided with an automatic safety water mixing device to prevent sudden
unanticipated changes in water temperature or excessive water temperatures. The
automatic safety water mixing device shall comply with ASSE 1070 or 1017 in
accordance with Section 890.210, and shall be adjusted to a maximum setting of 110
degrees Fahrenheit, at the time of installation. Exception: Units constructed
in accordance with Section 890.1220(a)(9)(B) may be used in lieu of an
automatic safety water mixing device to provide hot or tempered water to public
lavatories.
(Source: Amended at 38 Ill.
Reg. 9940, effective April 24, 2014)
 | TITLE 77: PUBLIC HEALTH
CHAPTER I: DEPARTMENT OF PUBLIC HEALTH SUBCHAPTER r: WATER AND SEWAGE
PART 890
ILLINOIS PLUMBING CODE
SECTION 890.690 SHOWER RECEPTORS AND COMPARTMENTS
Section 890.690 Shower
Receptors and Compartments
a) Shower Installation. All shower compartments, except those
built directly on a slab floor or having receptors constructed of precast
stone, terrazzo, concrete, molded stone, molded fiberglass, or an equally
durable material such as cultured stone or synthetic stone, shall have a lead,
copper, ABS, PVC or fiberglass shower pan. (See Section 890.220.) All sides of
the shower pan shall turn up at least 2 inches above the finished shower floor
level. Precast molded receptors shall have a minimum ¼- inch thick flange.
Traps shall be constructed so that the pan is fastened to the trap at the
seepage entrance, making a water-tight joint between the pan and the trap.
Shower receptacle waste outlets shall be at least 2 inches in diameter and have
a removable strainer.
b) Water Temperature Safety. All shower compartments and
shower-bath combinations shall be provided with an automatic safety water
mixing device to prevent sudden unanticipated changes in water temperature or
excessive water temperatures. The automatic safety water mixing device shall comply
with ASSE 1016/ASME A112.1016/CSA B125.16, in accordance with Section 890.210,
and be designed with a maximum handle rotation limit/stop, or comply with ASSE
1017 or ASSE 1070, in accordance with Section 890.210. The automatic safety
water mixing device shall be adjusted to a maximum setting of 115 degrees
Fahrenheit at the time of installation. The temperature of mixed water
provided to multi-shower units or multi-person showers shall be controlled by a
master automatic safety water mixing device, or the mixed water temperature
shall be individually regulated by automatic safety mixing valves for each
shower unit. A water heater thermostat shall not be an acceptable alternative
water temperature control device.
c) Dimensions. Single family shower compartments or stalls shall
have at least 1,024 square inches outside dimension (OD) floor area and shall
be at least 32 inches in shortest outside dimension. All other shower
compartments or stalls shall have no less than 1,296 square inches outside
dimension floor area and shall be at least 32 inches in shortest outside
dimension.
d) Materials. Shower walls shall be constructed of durable,
smooth, non-absorbent, non-corrosive and waterproof materials, such as
fiberglass, enameled metal or plastic sheeting. All shower compartments or
stalls shall have a slip-resistant floor (bottom) surface.
e) Public or Institution Showers. Floors of public shower rooms
shall be drained so that no waste water from any bather will pass over areas
occupied by other bathers. This will not prohibit the use of column showers.
(Source: Amended at 38 Ill.
Reg. 9940, effective April 24, 2014)
 | TITLE 77: PUBLIC HEALTH
CHAPTER I: DEPARTMENT OF PUBLIC HEALTH SUBCHAPTER r: WATER AND SEWAGE
PART 890
ILLINOIS PLUMBING CODE
SECTION 890.700 SINKS
Section 890.700 Sinks
a) Waste Outlets. Kitchen sinks shall be provided with waste
outlets at least 1½ inches in diameter. Other special purpose sinks such as
bar sinks, lab sinks and dipper wells may have smaller waste outlets. Waste
outlets shall be of the flat or basket (cup) strainer type.
b) Food Grinders. Sinks in which food grinders are installed
shall have a waste opening inlet for the food grinder at least 3½ inches in
diameter.
c) No special purpose sink shall be substituted for kitchen
purposes.
d) Service
sinks, mop sinks, laundry trays or similar utility sinks shall be provided with
hot water.
e) Sinks
in laboratories that are not designated for hand washing or personal hygiene
may be supplied with cold water only.
(Source: Amended at 38 Ill.
Reg. 9940, effective April 24, 2014)
 | TITLE 77: PUBLIC HEALTH
CHAPTER I: DEPARTMENT OF PUBLIC HEALTH SUBCHAPTER r: WATER AND SEWAGE
PART 890
ILLINOIS PLUMBING CODE
SECTION 890.710 FOOD WASTE DISPOSAL UNITS
Section 890.710 Food Waste
Disposal Units
a) Installation. Food waste disposal units shall be trapped
separately from any other fixture or compartment, shall be connected directly
to the sanitary drainage system, and shall be properly vented. Dishwashers
shall not discharge into food waste disposal units. Units may have either
automatic or hand-operated water supply control. (See Section 890.1130(a), (b)
and (c).)
b) Commercial-Type Grinders. Commercial-type food grinders shall
be provided with a waste line at least 2 inches in diameter. (See Appendix F: Illustration
D.)
(Source: Amended at 28 Ill.
Reg. 4215, effective February 18, 2004)
 | TITLE 77: PUBLIC HEALTH
CHAPTER I: DEPARTMENT OF PUBLIC HEALTH SUBCHAPTER r: WATER AND SEWAGE
PART 890
ILLINOIS PLUMBING CODE
SECTION 890.720 DRINKING FOUNTAINS
Section 890.720 Drinking
Fountains
a) Design and Construction. Drinking fountains shall conform to
the standards specified in Appendix A.Table A. No modification of the mouth
guard or nozzle shall be made. (See Appendix F.Illustration E.)
b) Protection of the Water Supply
1) All drinking fountain nozzles, including those which may at
times extend through a water surface, with an orifice not greater than 7/16
or 0.440 inch diameter or 0.150 square inches area, shall be placed so that the
lower edge of the nozzle orifice is at an elevation at least ¾ inch above the
flood level rim of the receptacle.
2) The ¾ inch elevation shall also apply to nozzles with more
than one orifice, provided that the sum of the area of all orifices shall not
exceed the area of a circle 7/16 inch in diameter or
shall not exceed 0.150 square inches area.
3) The nozzle shall be set at an angle from vertical to prevent
the return of water in the jet to the orifice.
c) Material. The fountain shall be constructed of impervious
materials such as vitreous china, porcelain, enameled cast iron, stainless
steel, or other metals or stoneware. (See Section 890.610.)
d) Flow Regulator. The water supply for the drinking fountain
shall be provided with an adjustable valve fitted with a loose key stop or an
automatic valve regulating the rate of flow of water through the fountain so
that the valve manipulated by the user of the fountain will merely turn the
water on or off.
e) Installation and Location. Drinking fountains shall not be
installed as an integral part of or connected to any other plumbing fixture,
such as a lavatory or sink, nor shall a drinking fountain be installed in a
restroom or toilet room, except those in correctional facilities.
f) Substitution. Whenever a drinking fountain is required by
this Part, bottled drinking water or a water dispensing faucet (water station)
may be substituted for a drinking fountain, provided that drinking water is accessible
to the public. When bottled drinking water is provided in lieu of a drinking
fountain, the bottled water used shall be commercially sealed in accordance
with the Illinois Bottled Water Act and the Illinois Safe Bottled Water Act.
(Source: Amended at 38 Ill.
Reg. 9940, effective April 24, 2014)
 | TITLE 77: PUBLIC HEALTH
CHAPTER I: DEPARTMENT OF PUBLIC HEALTH SUBCHAPTER r: WATER AND SEWAGE
PART 890
ILLINOIS PLUMBING CODE
SECTION 890.730 FLOOR DRAINS/TRENCH DRAINS
Section 890.730 Floor Drains/Trench
Drains
a) Trap and Strainer. Floor drains shall be trapped and have a
minimum water seal of 2 inches and shall be provided with a removable
strainer. The open area of the strainer shall be at least ⅔ of the area
of the drain line to which it connects. (See Appendix F.Illustration F.)
b) Trench drains for gas or oil discharges shall be constructed
of cast iron, steel, polymer concrete, fiberglass, high-density polyethylene
(HDPE), or Schedule 40 PVC material. Continuous trench drains for gas or oil
discharges shall have a trapped and vented opening no less than every 40 lineal
feet. Intermittent trench drains shall be treated as individual floor drains
and shall meet the trap and venting requirements for floor drains.
(Source: Amended at 38 Ill.
Reg. 9940, effective April 24, 2014)
 | TITLE 77: PUBLIC HEALTH
CHAPTER I: DEPARTMENT OF PUBLIC HEALTH SUBCHAPTER r: WATER AND SEWAGE
PART 890
ILLINOIS PLUMBING CODE
SECTION 890.740 KIDNEY DIALYSIS MACHINES
Section 890.740 Kidney
Dialysis Machines
a) The water supply inlet to kidney dialysis equipment shall have
a reduced pressure principle backflow preventer assembly complying with ASSE
1013 or a fixed air gap.
1) A portable dialysis unit or machine shall have a reduced
pressure principle backflow preventer assembly installed on the water supply
inlet on the unit.
2) Stationary dialysis equipment within a facility shall require,
at the filter room or the dialysis machines, a reduced pressure principle
backflow preventer assembly on the water supply or a water supply with a fixed
air gap.
3) Dialysis equipment shall be installed in accordance with this
Part and the manufacturer's specifications. Any conflicts shall be submitted
to the Department for resolution.
b) The water supply to a dialysis reuse room or dialysis machine
repair room shall be isolated from all other deionized (DI) or reverse osmosis
(RO) water lines by an RPZ or an air gap.
c) A sign no smaller than 8 by 10 inches with the wording
"This Water For Dialysis Only" shall be placed above a sink with DI
water or RO water supplied to the faucet.
d) The discharge for each dialysis unit or machine, portable or
stationary, shall be provided with an individual indirect waste connection to
the sanitary drainage system. Each stand pipe shall be individually trapped
and vented.
(Source: Amended at 38 Ill.
Reg. 9940, effective April 24, 2014)
 | TITLE 77: PUBLIC HEALTH
CHAPTER I: DEPARTMENT OF PUBLIC HEALTH SUBCHAPTER r: WATER AND SEWAGE
PART 890
ILLINOIS PLUMBING CODE
SECTION 890.745 DENTAL UNITS
Section 890.745 Dental Units
a) A
reduced pressure principle backflow preventer assembly conforming to ASSE 1013,
or a fixed air gap, shall be installed on each dental unit or group of dental
units.
b) Dental
vacuum systems connected to the water supply shall be provided with backflow
protection.
c) If a
dental unit has a water outlet below the flood rim level of a cuspidor, then an
approved reduced pressure principle backflow preventer assembly, a fixed air
gap, an air vent hole on the outlet, or an approved vacuum breaker shall
protect the water supply from each dental unit.
(Source: Amended at 38 Ill.
Reg. 9940, effective April 24, 2014)
 | TITLE 77: PUBLIC HEALTH
CHAPTER I: DEPARTMENT OF PUBLIC HEALTH SUBCHAPTER r: WATER AND SEWAGE
PART 890
ILLINOIS PLUMBING CODE
SECTION 890.750 HYDROMASSAGE/WHIRLPOOL BATHTUBS
Section 890.750 Hydromassage/Whirlpool
Bathtubs
a) Whirlpool bathtubs shall be installed so that the tub, pump,
jets and pump tubing drain completely after each use. The pump shall be
located above the weir of the whirlpool tub trap.
b) All whirlpool bathtubs shall comply with ASME A112.19.7/CSA
45.10 (Whirlpool Bathtub Appliances). The suction fittings used in whirlpool
bathtubs shall conform to ANSI/APSP 16 (Standard Suction Fittings for Use in
Swimming Pools, Wading Pools, Spas, and Hot Tubs).
(Source: Amended at 38 Ill.
Reg. 9940, effective April 24, 2014)
 | TITLE 77: PUBLIC HEALTH
CHAPTER I: DEPARTMENT OF PUBLIC HEALTH SUBCHAPTER r: WATER AND SEWAGE
PART 890
ILLINOIS PLUMBING CODE
SECTION 890.760 PRESSURE TYPE WATER TREATMENT UNITS
Section 890.760 Pressure
Type Water Treatment Units
Wash water and rinse water drain
lines from water softeners and other types of water treatment units shall
discharge through a vertical air gap at least twice the diameter of the pipe,
but not less than two (2) inches. Any water softening unit which depends on a
venturi created by the flow of water from the water supply line to the
softener, for the purpose of siphoning brine solution for regeneration, shall
not be required to have a backflow preventer on the water supply line. All
other types (those that depend on internal check valves to prevent backflow
and/or have the inlet supply of water stopped during regeneration) shall have a
double check valve backflow preventer assembly installed on the inlet water
supply line.
 | TITLE 77: PUBLIC HEALTH
CHAPTER I: DEPARTMENT OF PUBLIC HEALTH SUBCHAPTER r: WATER AND SEWAGE
PART 890
ILLINOIS PLUMBING CODE
SECTION 890.770 DISHWASHING MACHINES
Section 890.770 Dishwashing
Machines
a) Domestic Dishwasher (Private Residence). When a domestic
dishwashing machine drain line is connected to the house side of a trap from a
sink, the drain from the dishwasher shall be carried up to the underside of the
spill rim of the sink. Dishwashing machines shall discharge separately into a
trap or tail piece of the kitchen sink and shall not connect to the food waste
disposal unit.
b) Water Supply Connection. The water supply to commercial
dishwashing machines shall be connected through an air gap or by means of
proper backflow protection, e.g., a non-pressure type (atmospheric) vacuum
breaker or a dual check valve backflow preventer assembly (DuC), depending upon
the circumstances.
c) Commercial dishwashing machines shall indirectly discharge to
a proper receptor connected to the drainage system or as permitted in Section
890.1010(a).
d) Hot Water. A commercial dishwashing machine or similar
dishwashing equipment that relies upon hot water for sanitizing dishes and
utensils, rather than chemicals for sanitizing, shall provide rinse water at
180 degrees F., except for a single-tank, stationary-rack, single temperature
dishwashing machine which shall provide a rinse water temperature of 165
degrees F., in accordance with Section 750.830(h) of the "Food Service
Sanitation Code" (77 Ill. Adm. Code 750).
 | TITLE 77: PUBLIC HEALTH
CHAPTER I: DEPARTMENT OF PUBLIC HEALTH SUBCHAPTER r: WATER AND SEWAGE
PART 890
ILLINOIS PLUMBING CODE
SECTION 890.780 GARBAGE CAN WASHERS
Section 890.780 Garbage Can
Washers
a) Water Supply Connection. The water supply to garbage can
washers shall be connected through an air gap or by means of proper backflow
protection in accordance with Sections 890.1130 and 890.1140.
b) Discharge. Garbage can washers shall not discharge through a
trap serving any other device or fixture.
c) Baskets. The receptor receiving the waste water from garbage
can washing shall be provided with a basket, strainer or similar device to
catch large solid waste particles, thereby preventing their discharge into the
building drainage system.
d) Grease Interceptor. The discharge from a garbage can washer
shall be directed to a grease interceptor. (See Section 890.510.)
 | TITLE 77: PUBLIC HEALTH
CHAPTER I: DEPARTMENT OF PUBLIC HEALTH SUBCHAPTER r: WATER AND SEWAGE
PART 890
ILLINOIS PLUMBING CODE
SECTION 890.790 LAUNDRY TRAYS/SINKS AND DRAINS
Section 890.790 Laundry
Trays/Sinks and Drains
a) Waste openings. Each compartment of a laundry tray shall be
provided with a waste opening at least 1½ inches in diameter and with a stopper
or strainer.
b) Commercial Laundry Drains. Commercial laundry machines shall
discharge individually into a trapped and vented outlet or may discharge into a
trapped and vented trench drain. (Also see Section 890.530(b), which requires
all commercial laundries to have a lint separator/interceptor.)
c) All laundry/washer boxes shall have a minimum of a 2 inch
drain that is properly trapped and vented. (See Section 890.410(b).)
(Source: Amended at 28 Ill.
Reg. 4215, effective February 18, 2004)
 | TITLE 77: PUBLIC HEALTH
CHAPTER I: DEPARTMENT OF PUBLIC HEALTH SUBCHAPTER r: WATER AND SEWAGE
PART 890
ILLINOIS PLUMBING CODE
SECTION 890.800 SPECIAL FIXTURES AND/OR ITEMS DESIGNED FOR A PARTICULAR PURPOSE
Section 890.800 Special
Fixtures and/or Items Designed for a Particular Purpose
a) Emergency showers and eye wash stations within a building
shall be provided with potable water and a trapped and vented receptor and
shall comply with ANSI Z358.1.
b) Emergency eye wash stations shall not be installed on a faucet
spout.
c) Baptistries, ornamental and lily ponds, aquariums, ornamental
fountain basins, and similar type constructions, when provided with water
supplied from the potable water system, shall be protected from back siphonage
as required in Section 890.1130(f).
d) A request for permission to install special fixtures or items
designed for a particular purpose requiring water and waste connections not
otherwise provided for in this Part shall be submitted, in writing, to the
Department for approval prior to installation.
(Source: Amended at 38 Ill.
Reg. 9940, effective April 24, 2014)
 | TITLE 77: PUBLIC HEALTH
CHAPTER I: DEPARTMENT OF PUBLIC HEALTH SUBCHAPTER r: WATER AND SEWAGE
PART 890
ILLINOIS PLUMBING CODE
SECTION 890.810 MINIMUM NUMBER OF PLUMBING FIXTURES
Section 890.810 Minimum
Number of Plumbing Fixtures
a) Minimum Number of Fixtures Required. Plumbing fixtures shall
be provided, for each building type and occupant load, in the minimum numbers
shown in Appendix A.Table B, Minimum Number of Plumbing Fixtures, except as
noted in footnote 2. Questions concerning the minimum numbers of fixtures
required for building types not listed in Appendix A.Table B, shall be referred
to the Department in writing prior to construction for a decision concerning
the minimum numbers (and types) of plumbing fixtures required. The
Department's decision shall be in writing based on Appendix A.Table B.
1) Building Classification. For purposes of this Part, buildings
shall be classified according to the types shown in Appendix A.Table B.
Buildings that incorporate more than one type of building use or occupancy, as
classified by the Department, shall provide the combined numbers of fixtures
required for the individual uses. Individual businesses within the same
building or within an enclosed mall may share public or employee restroom
facilities, provided that the access to the restrooms does not require trespass
on adjoining businesses or leased space. Restrooms shall be open at all times
when any individual business within the same building or within an enclosed
mall is open.
2) Occupant Load. For those building types for which the minimum
number of plumbing fixtures required in Appendix A.Table B is dependent upon
the building's occupant load, the occupant load shall be the estimated total
occupant load. If the building's occupant load is not known or determinable,
the following shall be used to estimate the total occupant load:
A) In assembly places (sports arenas, stadiums, convention
centers, theaters, auditoriums, gymnasiums or other facilities for spectator
events); worship places and funeral homes; schools; office buildings; food
service establishments; and mercantile units, the total occupant load
(employees and public users of the facility) shall be based on the capacity of
the rooms or spaces used for assembly purposes or other intended occupancy and
shall be determined as follows:
i) In rooms or spaces with fixed seating, the occupant load
shall be the actual number of seats provided. When no divisions between seats
are provided (e.g., benches or pews), fixed seating shall be computed assuming
18 inches per person.
ii) In rooms or spaces without fixed seating, the occupant load
shall be determined by dividing the gross floor area by the estimated floor
area per person shown in the following table:
|
Building Type or Occupancy
|
Floor
Area per
Person
(Sq. Ft.)
|
|
|
|
|
Assembly Places – Facilities for Spectator Events; Worship Places and
Funeral Homes
|
50
|
|
Museums, Libraries, Exhibition Areas and Similar Uses
|
50
|
|
Schools
|
50
|
|
Day Care Centers
|
70
|
|
Office Buildings
|
200
|
|
Food Service Establishments, Clubs, Taverns, and Other Eating/Drinking
Facilities
|
30
|
|
Mercantile Units, Except Grocery Stores, Auction Houses, Sale Barns,
Car Auction Centers, and other similar Mercantile Units
− First Floor
− All Other Floors
|
100
120
|
|
Combination Grocery Store/Non-Grocery Mercantile Units
|
150
|
|
Mercantile Units, such as Auction Houses, Sale Barns, Car Auction
Centers, and other similar Mercantile Units
|
40
|
|
Grocery Stores
|
200
|
|
Storage/Shipping Area
|
400
|
|
Power Plants/Industrial Units
|
500
|
iii) For a drive-in food service establishment, the occupant load
shall be considered as equal to the number of parking stalls.
B) Dormitories and Institutions. For dormitories, penal
institutions and other residential institutions other than hospitals, the total
occupant load shall be based upon the number of beds in the dormitory or
institution.
C) Restroom Location and Requirements. The required number of
plumbing fixtures for a restroom shall be located within the restroom area and
not in the hallways or vestibules. Lavatories required by Appendix A.Table B
shall be installed in restrooms at a ratio of not less than one lavatory per two
water closets or urinals. (See Footnote 2, Appendix A.Table B.)
b) Required Restroom Facilities and Drinking Fountains
1) Employee Restrooms and Drinking Fountains
A) Restroom facilities and drinking fountains shall be provided
for all employees within each place of employment. The minimum numbers of
fixtures provided shall be based on the maximum number of male and female
employees working at any one time, as shown in Appendix A.Table B. (The numbers
of fixtures required for employees are included in the numbers shown in Table B
for all building types/uses except hospital rooms, penal institutions and other
institutions. The entry in Appendix A.Table B (All Facilities for Employee Use)
shall be used to determine the minimum number of fixtures required for
employees in hospitals, penal and other institutions, and all other buildings/facilities
that do not appear in Appendix A.Table B.)
i) If there are more than five employees working at any one
time, separate restrooms for men and women shall be provided.
ii) If there are no more than five employees working at any time,
one restroom may serve both sexes. A restroom shall have a minimum of one water
closet and one lavatory.
iii) For schools, day care centers and office buildings, the
employee restrooms and drinking fountains shall be located on the same floor or
one floor above or below each location where employees regularly work.
iv) Individual businesses within the same building or within an
enclosed mall may share public/employee restroom facilities, provided that the
access to the restrooms does not require trespass on adjoining business or
leased space. The restrooms shall be designed for the combined occupant load
of the individual businesses served, be open at all times when any individual
business is open, and be located no more than 300 feet from the entrance of
each business served. Exception: Any food service establishment that sells or
serves food or beverages to be consumed on its premises or within the
building/mall shall be located no more than 100 feet from the shared
public/employee restrooms and shall be on the same floor.
v) Kiosks, which are free-standing places of employment, that
have five or fewer employees at any time who have access to public restrooms
and a drinking fountain within 300 feet of the kiosks, shall not be required to
have employee restroom facilities or a drinking fountain.
B) If public restrooms and drinking fountains are also required
for the building type, employees may share the restrooms and drinking fountains
with the public, provided that the numbers of fixtures are sufficient for the
combined numbers of males and females and the restrooms and drinking fountains are
provided within the place of employment (and within the required location for
schools, day care centers and office buildings).
2) Public Restrooms and Drinking Fountains
A) General Requirements
i) Buildings with 5,000 square feet of gross public area or with
occupancies of 100 or more persons shall provide public restrooms and drinking
fountains as shown in Appendix A.Table B. Buildings other than those exceptions
in subsection (b)(2)(B), with less than 5,000 square feet of gross public area,
or with occupancies of fewer than 100 persons, need not provide public
restrooms and drinking fountains.
ii) Individual businesses within the same building or within an
enclosed mall, may share public/employee restroom facilities, provided that the
access to the restrooms does not require trespass on adjoining business or
leased space. The restrooms shall be designed for the combined occupant load
of the individual businesses served, always be open when any individual
business is open or when employees are present, and be located no more than 300
feet from the entrance of any business served. Exception: Any food service
establishment that sells food or beverages to be consumed on its premises or
within the building/mall shall be located no more than 100 feet from the shared
public/employee restrooms and shall be on the same floor.
iii) When public restroom facilities are required by this Part,
separate facilities for males and females shall be provided. If additional
public restroom facilities are provided in excess of the minimum requirements
of this Part, they shall comply with one of the following:
• For each additional two water closets or urinals installed in
a restroom, one additional lavatory shall be installed in that restroom.
• Unisex restrooms shall not have more than one water closet
and one lavatory and the option of one urinal.
iv) Plumbing shall meet the requirements of the Illinois
Accessibility Code.
B) Additional Requirements for Special Building Types
i) All food service establishments that sell or serve food or beverages
to be consumed on the premises (regardless of their gross area) shall provide
readily accessible restroom facilities for the public. If public restrooms are
not provided within the premises of the food service establishment, they shall
be located within the same building, on the same floor/level and within 100
feet of an entrance to the food service establishment, and they shall be
available for public use at all times that the food service establishment is
open. Exception: Food service establishments with no more than 10 combined
employees and seats (for patrons) at any one time need not provide public
restrooms, provided that the employee restrooms are accessible and made
available to the public.
ii) All businesses selling motor vehicle fuel to the public
(regardless of their gross area) shall provide at least one public restroom for
male use and one public restroom for female use. Exception: Facilities that do
not have any employees working as attendants during any part of a 24 hour
period and sell only motor fuel to the public using automated machines need not
provide male/female public restrooms or drinking fountains. One employee
restroom shall be provided for use by maintenance staff when maintenance staff
are present.
(Source: Amended at 38 Ill.
Reg. 9940, effective April 24, 2014)
 | TITLE 77: PUBLIC HEALTH
CHAPTER I: DEPARTMENT OF PUBLIC HEALTH SUBCHAPTER r: WATER AND SEWAGE
PART 890
ILLINOIS PLUMBING CODE
SECTION 890.820 OUTSIDE KIOSKS SERVING FOOD
Section 890.820 Outside Kiosks Serving Food
a) General
Plumbing. All plumbing shall be sized, installed and maintained in accordance
with applicable provisions of this Part.
b) General
Restrooms. Restrooms for employees shall be provided and accessible to
employees at all times. If a restroom is not located within the building, then
there shall be an accessible and available restroom within 300 feet of the
building.
(Source: Added at 28 Ill.
Reg. 4215, effective February 18, 2004)
SUBPART G: HANGERS, ANCHORS AND SUPPORTS
 | TITLE 77: PUBLIC HEALTH
CHAPTER I: DEPARTMENT OF PUBLIC HEALTH SUBCHAPTER r: WATER AND SEWAGE
PART 890
ILLINOIS PLUMBING CODE
SECTION 890.910 HANGERS, ANCHORS AND SUPPORTS
Section 890.910 Hangers,
Anchors and Supports
a) General. Hangers, anchors and supports shall be of material
and strength to support the piping and its contents and maintain its proper
alignment. Hangers, anchors and supports shall be securely attached to the
building construction at sufficient intervals to support the piping and its
contents. Provisions shall be made to allow for expansion, contraction,
structural settlement and vibrations. Installation shall be in accordance with
manufacturers' directions if more stringent than this Part.
b) Material. Hangers, anchors and supports shall be of metal or
other material strong enough to support the piping when full. Piers may be of
concrete, brick or other approved materials.
 | TITLE 77: PUBLIC HEALTH
CHAPTER I: DEPARTMENT OF PUBLIC HEALTH SUBCHAPTER r: WATER AND SEWAGE
PART 890
ILLINOIS PLUMBING CODE
SECTION 890.920 VERTICAL PIPING
Section 890.920 Vertical
Piping
a) Attachment. Vertical piping shall be secured at intervals to
keep the pipe in alignment and carry the weight of the pipe at its maximum
capacity. Stacks shall be supported at their base and, if over two (2) stories
in height, shall be supported at each floor by floor clamps. (See Appendix G:
Illustrations A and B.)
b) Cast Iron Soil Pipe. Cast iron soil pipe shall be supported
at not less than every story height and at its base. Hubless or compression
gasket joint shall be supported at not less than every story height, at its
base and at intervals to keep the pipe in alignment and to adequately support
the weight of the pipe at its maximum capacity. (See Appendix G: Illustrations
A and B.)
c) Threaded Pipe. Threaded pipe shall be supported at every
other story height. Supports shall be of ferrous material.
d) Copper Tube. Hard drawn copper tube and annealed copper
tubing shall be supported at least every story at not more than ten (10) foot
intervals. On long lines where there are provisions for expansion and
contraction, anchors may be a maximum of four (4) stories apart for cold water
risers and drain/waste/vent (DWV) stacks, and two (2) stories apart for hot
water risers, provided there are sleeves or similar devices at intermediate
floors to restrain lateral movement. Supports shall be of copper material or
other material which will not react with the piping material, and which will
properly support the pipe.
e) Lead Pipe. Lead pipe shall be supported at intervals not
exceeding four (4) feet. Supports shall be of lead or softer material.
f) Plastic Pipe. Hangers and straps shall not compress, distort,
cut or abrade the piping and shall allow free movement of the pipe. Wire pipe
hooks shall not be used to support plastic pipe. Restraining joints and
expansion joints shall be installed as required. All vertical piping shall be
maintained in straight alignment with supports at each floor level or at
intervals of ten (10) feet, whichever is less. Trap arms in excess of three
(3) feet shall be supported as close as possible to the trap.
 | TITLE 77: PUBLIC HEALTH
CHAPTER I: DEPARTMENT OF PUBLIC HEALTH SUBCHAPTER r: WATER AND SEWAGE
PART 890
ILLINOIS PLUMBING CODE
SECTION 890.930 HORIZONTAL PIPING
Section 890.930 Horizontal
Piping
a) Support. Horizontal piping shall be supported at sufficiently
close intervals to keep the piping in alignment and prevent sagging.
b) Cast Iron Soil Pipe. Where joints occur, suspended cast iron
pipe shall be supported within 18 inches of each hub or joint and at not more
than 5 foot intervals; however, pipe exceeding 5 feet in length may be
supported at not more than 10 foot intervals. Hubless or compression gasket
joints must be supported at least at every other joint except that when the
developed length between hubless or compression gasket joints exceeds 4 feet,
supports shall be provided at each joint. Supports shall be placed on or
immediately adjacent to the joint. Suspended pipes shall be braced to prevent
horizontal movement.
c) Threaded Pipe. Threaded pipe 1½ inches and larger shall be
supported at least at 12 foot intervals; smaller pipe (e.g., 1¼ inch pipe)
shall be supported at least at 8 foot intervals. Supports shall be of ferrous
material.
d) Copper Tube. Hard drawn copper tube shall be supported at
least every 8 feet for one inch and smaller tube, and at 10 foot intervals for
larger sizes. Annealed copper tubing shall be supported at least every 8 feet.
Supports shall be of copper material or other material of sufficient strength
to support the tubing and which will not react with copper piping material.
e) Lead Pipe. Lead pipe shall be supported for its entire
length. Supports in contact with the pipe shall be of lead or softer material.
f) Plastic Pipe. Hangers and straps shall not compress, distort,
cut or abrade the piping and shall allow free movement of the pipe. Wire pipe
hooks shall not be used to support plastic pipe. Restraining joints and
expansion joints shall be installed as required. All horizontal piping shall
be supported at intervals of not more than 4 feet, and at ends of branches, and
at changes of direction or elevation. Trap arms in excess of 3 feet shall be
supported as close as possible to the trap.
(Source: Amended at 28 Ill.
Reg. 4215, effective February 18, 2004)
SUBPART H: INDIRECT WASTE PIPING, SPECIAL WASTE
 | TITLE 77: PUBLIC HEALTH
CHAPTER I: DEPARTMENT OF PUBLIC HEALTH SUBCHAPTER r: WATER AND SEWAGE
PART 890
ILLINOIS PLUMBING CODE
SECTION 890.1010 INDIRECT WASTE PIPING
Section 890.1010 Indirect
Waste Piping
a) Food and Beverage Handling. Commercial dishwashing machines,
dishwashing sinks, pot-washing sinks, pre-rinse sinks, silverware sinks, bar
sinks, soda fountain sinks, vegetable sinks, potato peelers, ice machines,
steam tables, steam cookers and other similar fixtures shall have their drain
lines indirectly discharged to a proper receptor. The only exception shall be
when the fixtures are located adjacent to a floor drain. The waste may be
directly connected on the sewer side of the floor drain trap provided that the
fixture waste is trapped and vented as required by this Part (see Appendix H.Illustrations
A and B), and the floor drain is located within 4 feet horizontally of the
fixtures and in the same room. In the case of direct connection, no other
fixture waste shall be connected between the floor drain trap and the fixture being
protected. All indirect waste shall discharge to a vented trap located as close
as possible to the fixture and in the same room. (See Appendix H.Illustrations
C and D.)
b) Connection. Indirect waste connections shall be provided for
drains, overflows and relief valves from the water supply system. (See
Appendix H.Illustration E.) A clear water waste shall discharge through an
indirect waste into a sanitary or storm drain system located on the same floor.
c) Sterile Materials. Stills, sterilizers and other appliances,
fixtures, devices and water and waste connections used for preparation of
sterile material shall be indirectly discharged to the drainage system.
d) Swimming Pools. When backwash or other waste water from a
swimming pool filter discharges to the sanitary waste system, it shall be
indirectly wasted. When deck drains around a pool discharge to the sanitary
waste system, they shall be indirectly wasted.
e) Clear Water Wastes. Water lifts, expansion tanks, cooling
jackets, sprinkler systems, drip or overflow pans, refrigerated cases, or
similar devices that discharge only clear water shall discharge indirectly into
a building storm drain or building drain located on the same floor, or into a
vacuum waste system.
f) Fire Sprinkler Systems. The relief valve (port) of a backflow
device located on a fire sprinkler system that contains an additive shall drain
indirectly to the building drain.
g) Cleaning. Indirect waste piping shall be installed so as to
permit access for flushing and cleaning.
(Source: Amended at 38 Ill.
Reg. 9940, effective April 24, 2014)
 | TITLE 77: PUBLIC HEALTH
CHAPTER I: DEPARTMENT OF PUBLIC HEALTH SUBCHAPTER r: WATER AND SEWAGE
PART 890
ILLINOIS PLUMBING CODE
SECTION 890.1020 MATERIAL AND SIZE
Section 890.1020 Material
and Size
Indirect waste pipe sizes shall
be the same as the fixture outlets, but at least three-fourths (3/4)
inch.
 | TITLE 77: PUBLIC HEALTH
CHAPTER I: DEPARTMENT OF PUBLIC HEALTH SUBCHAPTER r: WATER AND SEWAGE
PART 890
ILLINOIS PLUMBING CODE
SECTION 890.1030 LENGTH AND GRADE
Section 890.1030 Length and
Grade
a) Maximum Length. The maximum developed length of the indirect
waste of any sanitary waste line shall not exceed 5 feet.
b) Grade. Indirect waste pipes shall be installed at a uniform
grade, in compliance with Section 890.1320(f), (g) and (h).
(Source: Amended at 28 Ill.
Reg. 4215, effective February 18, 2004)
 | TITLE 77: PUBLIC HEALTH
CHAPTER I: DEPARTMENT OF PUBLIC HEALTH SUBCHAPTER r: WATER AND SEWAGE
PART 890
ILLINOIS PLUMBING CODE
SECTION 890.1040 AIR GAPS
Section 890.1040 Air Gaps
The air gap between an indirect
waste and the drainage system shall be at least two (2) times the diameter of
the fixture drain or drainage pipe served, but shall never be less than one (1)
inch. For requirements in excess of this minimum, see Appendix A: Table C,
and Appendix H: Illustration F.
 | TITLE 77: PUBLIC HEALTH
CHAPTER I: DEPARTMENT OF PUBLIC HEALTH SUBCHAPTER r: WATER AND SEWAGE
PART 890
ILLINOIS PLUMBING CODE
SECTION 890.1050 RECEPTORS
Section 890.1050 Receptors
a) Installation. Receptors serving indirect waste pipes shall be
trapped and vented and shall not be installed in any concealed, inaccessible or
unventilated space, and shall be sized to prevent overflow.
b) Strainers and Baskets. A receptor shall be equipped with
either a readily removable basket over which the indirect waste pipe shall
discharge or the indirect waste receptor shall be equipped with a strainer. The
basket or receptor shall be constructed of approved material for the waste that
will discharge into it.
c) Splashing. All plumbing receptors receiving the discharge of
indirect waste pipes shall be of such design and capacity as to prevent
splashing or flooding under normal conditions. No plumbing fixtures with
potable water connected to them, except service sinks, shall be used to receive
the discharge of an indirect clear water waste pipe.
(Source: Amended at 28 Ill.
Reg. 4215, effective February 18, 2004)
 | TITLE 77: PUBLIC HEALTH
CHAPTER I: DEPARTMENT OF PUBLIC HEALTH SUBCHAPTER r: WATER AND SEWAGE
PART 890
ILLINOIS PLUMBING CODE
SECTION 890.1060 SPECIAL WASTES AND CHEMICAL WASTES
Section 890.1060 Special
Wastes and Chemical Wastes
a) Acid Wastes. Acid and chemical waste piping and fittings,
including the trap, shall be of material that will not be damaged by the waste
being discharged.
b) Neutralizing Device. Corrosive liquids, spent acids, or other
harmful chemicals shall not be discharged into the building sewer without first
being properly diluted or neutralized.
SUBPART I: WATER SUPPLY AND DISTRIBUTION
 | TITLE 77: PUBLIC HEALTH
CHAPTER I: DEPARTMENT OF PUBLIC HEALTH SUBCHAPTER r: WATER AND SEWAGE
PART 890
ILLINOIS PLUMBING CODE
SECTION 890.1110 QUALITY OF WATER SUPPLY
Section 890.1110 Quality of
Water Supply
All premises intended for human
habitation or occupancy shall be provided with a potable water supply. The
potable water supply shall not be connected to non-potable water and shall be
protected from backflow and back siphonage. (See Appendix I.Illustration A.)
(Source: Amended at 38 Ill.
Reg. 9940, effective April 24, 2014)
 | TITLE 77: PUBLIC HEALTH
CHAPTER I: DEPARTMENT OF PUBLIC HEALTH SUBCHAPTER r: WATER AND SEWAGE
PART 890
ILLINOIS PLUMBING CODE
SECTION 890.1120 COLOR CODE
Section 890.1120 Color Code
Identification of Piping. All
piping conveying non-potable water shall be permanently identified by a continuous
purple coloring so that the piping is readily distinguishable from piping
carrying potable water. (See the color codes of ANSI/NEMA Z535.1 and ASME
A13.1.)
(Source: Amended at 38 Ill.
Reg. 9940, effective April 24, 2014)
 | TITLE 77: PUBLIC HEALTH
CHAPTER I: DEPARTMENT OF PUBLIC HEALTH SUBCHAPTER r: WATER AND SEWAGE
PART 890
ILLINOIS PLUMBING CODE
SECTION 890.1130 PROTECTION OF POTABLE WATER
Section 890.1130 Protection
of Potable Water
a) Cross-Connection (Submergence). Potable water supply piping
and water discharge outlets shall not be submerged in any sewage or toxic
substance. Potable water supply piping or water discharge outlets that are
submerged in other substances shall be provided with backflow protection as
listed in subsection (f). (See Appendix I.Illustrations B and C.)
b) Approval of Devices and Maintenance. All devices and
assemblies for the prevention of backflow shall comply with the standards
listed in Appendix A.Table A. All reduced pressure principle (RPZ), reduced
pressure detector (RPDA), double check (DCA) and double check detector (DCDA)
backflow prevention assemblies shall be tested and approved by a
Cross-Connection Control Device Inspector (CCCDI) before initial operation, and
at least annually after initial inspection. Records to verify testing and
maintenance shall be available at the site of the installation.
c) Backflow. The water distribution system shall be protected
against backflow. Each water outlet shall be protected from backflow by having
the outlet end from which the water flows spaced a sufficient distance above
the flood-level rim of the receptacle into which the water flows to provide a
minimum fixed air gap. When it is not possible to provide a minimum fixed air
gap, the water outlet shall be equipped with an accessible backflow prevention
device or assembly in accordance with subsection (f) of this Section or Section
890.1140.
d) Fire Safety Systems. The installation of any fire safety
system involving the potable water supply system shall be protected against
backflow as follows:
1) Backflow protection is not required for fire safety systems
constructed as follows:
A) The system shall be looped, with no dead ends, to allow
circulation, to prevent the stagnation of water in the line;
B) The system shall not have any non-potable connections or a fire
department hose (Siamese) connection;
C) The system shall have 20 sprinkler heads or less; and
D) The system shall be constructed of potable water supply quality
pipe in accordance with Appendix A.Table A.
2) When backflow protection is required, a double detector check
valve or double check valve backflow preventer assembly shall be installed at
the fire safety system's point of connection to the potable water supply when a
fire safety system has no chemical additives or non-potable connection and:
A) The
fire safety system has no fire department hose connections; or
B) The fire safety system has one or more fire department hose
connections (for boosting pressure and flow to the fire safety system) that are
served only by fire fighting apparatus connected to a public water supply or a
fire department that does not use chemical additives or rely upon any
non-potable water supply.
3) A fixed air gap with a break tank or other storage vessel or a
reduced pressure principle backflow preventer assembly (RPZ) shall be installed
at the fire safety system's point of connection to the potable water supply if:
A) The fire safety system contains additives such as antifreeze,
fire retardant or other chemicals. (The RPZ may be located at the point of
connection to that section of the system containing additives when the system's
connection to the water supply is protected by a double detector check valve
backflow preventer assembly.); or
B) Non-potable water flows into the fire safety system by gravity;
or
C) There is a permanent or emergency connection through which
water can be pumped into the fire safety system from any other non-potable
source; or
D) Fire department connections are available that could permit
water to be pumped into the fire safety system from a non-potable source
capable of serving the fire safety system. A non-potable source of water shall
be considered capable of serving the fire safety system under the following
conditions: it must be capable of year-round use, maintained with at least
50,000 gallons of usable water not subject to freezing, accessible to fire
fighting pumper equipment, and located within 1,700 feet of the facility.
e) Prohibited Connections
1) Sewage Lines. There shall be no direct connection between
potable water lines and sewage lines or equipment and vessels containing
sewage. Connections shall be made only through a minimum fixed air gap as
outlined in subsection (f)(5).
2) Chemical or Petroleum Pressure Vessels. No direct connection shall
occur between any potable water supply and any pressure vessel, i.e., storage
tank, tank car, tank truck or trailer, or other miscellaneous pressurized tank
or cylinder containing or having contained liquified gaseous petroleum products
or other liquified gaseous chemicals. When it is necessary to discharge from a
potable water line to a pressure vessel, the discharge shall be through a
minimum fixed air gap as outlined in subsection (f)(5). Exception: Chemical
pressure vessels containing chemicals used in the water treatment process, for
uses other than private purposes, are exempt from this subsection (e)(2).
3) If water under pressure is required, as in subsections (e)(1)
and (2), it shall be supplied by means of an auxiliary pump taking suction from
a tank provided for this purpose only with an over-rim supply having the
required minimum fixed air gap.
4) A potable water line to a single wall refrigerant condenser
shall be provided with a backflow preventer complying with ASSE 1012 or 1013.
5) No pipe or fitting of the water supply system shall be drilled
or tapped nor shall any band or saddle be used except at the water main in the
street. Exception: See Section 890.320(h) for potable water use only.
f) Devices for the Protection of the Potable Water Supply.
Approved backflow preventers or vacuum breakers shall be installed with all
plumbing fixtures and equipment that may have a submerged potable water supply
outlet and that are not protected by a minimum fixed air gap. Connection to
the potable water supply system for the following fixtures or equipment shall
be protected against backflow with one of the appropriate devices as indicated
below:
1) Inlet to receptacles containing low hazard substances (steam,
compressed air, food, beverages, etc.):
A) fixed air gap fitting;
B) reduced pressure principle backflow preventer assembly;
C) atmospheric vacuum breaker unit;
D) double check valve backflow preventer assembly;
E) double check backflow preventer with atmospheric vent assembly;
or
F) dual check valve.
2) Inlet to receptacles containing high hazard substances (vats,
storage containers, plumbing fixtures, etc.):
A) fixed air gap fitting;
B) reduced pressure principle backflow preventer assembly; or
C) atmospheric vacuum breaker unit.
3) Coils or jackets used as heat exchangers in compressors,
degreasers and other equipment involving high hazard substances:
A) fixed air gap fitting; or
B) reduced pressure principle backflow preventer assembly.
4) Direct connections that are subject to back pressure:
A) Receptacles containing low hazard substances (vats, storage
containers, plumbing fixtures, etc.):
i) fixed air gap fitting;
ii) reduced pressure principle backflow preventer assembly;
iii) double check valve backflow preventer assembly;
iv) double check backflow preventer with atmospheric vent assembly;
or
v) dual check valve.
B) Receptacles containing high hazard substances (vats, storage
containers, etc.):
i) fixed air gap fitting; or
ii) a reduced pressure principle backflow preventer assembly.
5) Inlet to or direct connection with sewage or lethal
substances: fixed air gap fitting.
6) Hose and spray units or stations shall be protected by one of
the appropriate devices as indicated below:
A) Fixed
air gap;
B) Reduced
pressure principle backflow preventer assembly;
C) Double
check valve backflow preventer assembly;
D) Double check valve backflow preventer with atmospheric vent
assembly;
E) Dual check valve backflow preventer assembly;
F) Atmospheric vacuum breaker unit.
g) Installation of Devices or Assemblies
1) Devices of All Types. Backflow preventer assemblies and
devices shall be installed to be accessible for observation, maintenance and
replacement services. Backflow preventer devices or assemblies shall not be
installed where they would be subject to freezing conditions, except as allowed
in Section 890.1140(d).
2) All in-line backflow/back siphonage preventer assemblies shall
have a full port type valve with a resilient seated shut-off valve on each side
of the preventer. Relocation of the valves is not permitted.
3) A protective strainer shall be located upstream of the first
check valve on all backflow/back siphonage preventers unless the device contains
a built-in strainer. Fire safety systems are exempt from the strainer
requirement.
4) Atmospheric vacuum breakers shall be installed with the
critical level above the flood level rim of the fixture they serve, and on the
discharge side of the last control valve of the fixture. No shut-off valve or
faucet shall be installed beyond the vacuum breaker.
5) No in-line double check valve backflow preventer assembly
(DCV) or reduced pressure principle backflow preventer assembly (RPZ) shall be
located more than 5 feet above a floor, or be installed where it is subject to
freezing or flooding conditions. After installation, each DCV and RPZ shall be
field tested in-line in accordance with the manufacturer's instructions by a
cross-connection control device inspector before initial operation. (See
subsection (b).)
6) A dual check backflow preventer with atmospheric vent assembly
shall not be installed where it is subject to freezing or flooding conditions.
7) Closed water systems with hot water storage shall have a
properly sized thermal expansion tank located in the cold water supply as near
to the water heater as possible and with no shut-off valve or other device
between the heater and the expansion tank. Exception: In existing buildings
with a closed water system, a properly sized pressure relief valve may be
substituted in place of a thermal expansion tank. For closed water systems
created by backflow protection in manufactured housing, as required in Section
890.1140(i), a ballcock with a relief valve may be substituted for the thermal
expansion tank.
(Source: Amended at 38 Ill.
Reg. 9940, effective April 24, 2014)
 | TITLE 77: PUBLIC HEALTH
CHAPTER I: DEPARTMENT OF PUBLIC HEALTH SUBCHAPTER r: WATER AND SEWAGE
PART 890
ILLINOIS PLUMBING CODE
SECTION 890.1140 SPECIAL APPLICATIONS AND INSTALLATIONS
Section 890.1140 Special
Applications and Installations
a) Atmospheric Vacuum Breaker. An atmospheric vacuum breaker
shall be installed between the control valve and the fixture in a manner that it
will not be subject to water pressure, except the pressure incidental to water
flowing to the fixture. An atmospheric vacuum breaker shall be installed on
the outlet side of the control valve.
b) Flushometer Valve. Flush valves shall be equipped with vacuum
breakers installed on the discharge side of the flushing valve with the
critical level at least 4 inches above the overflow rim of the bowl or 4 inches
above the top of the urinal. (See Appendix I.Illustration D.)
c) Flushing Tanks. Flushing tanks shall be equipped with
anti-siphon ballcocks. The ballcocks shall be installed with the critical
level of the vacuum breaker at least 1 inch above the full opening of the
overflow pipe. If the ballcock has no hush tube, the bottom of the water supply
inlet shall be installed 1 inch above the top of the overflow pipe. (See
Section 890.650(d).)
d) Lawn Sprinklers. Any lawn sprinkler system connected to a
potable water supply shall be equipped with an RPZ. The RPZ may be located
outside provided that it is protected from freezing or is removed at the end of
the season, and it complies with Section 890.1130(g)(1).
e) Valve Outlets for Hose Attachments
1) All threaded valve outlets shall have backflow protection in
accordance with Section 890.1130. All outside threaded valve outlets shall not
be subject to freezing.
2) Yard hydrants shall be installed as follows:
A) Potable Water. All hydrants with threaded spigots shall have
backflow protection attached to the hydrant spigot (if threaded) and either:
i) Hydrants with buried drain down (weep) holes shall have the
weep holes protected from ground water backup by proper open site drainage. A
backflow preventer shall not be used on the buried weep hole to protect the
hydrant from ground water backup; or
ii) A yard hydrant that automatically drains back to a sealed
container when flow is shut off, such as a canister type hydrant.
B) Non-potable Water. One or more hydrants may be installed for
non-potable use if they are isolated from the potable water supply by a
backflow preventer device installed in accordance with Section 890.1130(f).
The hydrants shall be clearly identified as non-potable by color (see Section
890.1120) and bear a sign that reads as follows: "This water unsafe for
drinking."
3) In a campground licensed in accordance with the Department's
rules titled Youth Camp Code or Recreational Area Code, backflow protection is
not required if the water supply line is directly connected to a recreational
vehicle and is under constant pressure.
f) Commercial Laundry Machines. The potable water supply to
commercial laundry machines shall be protected against back siphonage by an air
gap or backflow protection device. If a vacuum breaker is used, it shall be a
minimum of 26 inches above the top of the machine.
g) Commercial Dishwashers. Commercial dishwashers shall be
equipped with an approved vacuum breaker located in the rinse water supply line
on the discharge side of the final control valve, a minimum distance of 6 inches
above the uppermost spray outlets. The cold water or make-up water supply line
shall be provided with an air gap or a vacuum breaker located on the discharge
side of the final control valve, a minimum distance of 6 inches above the
overflow level or flood rim.
h) Aspirators. Water-operated aspirators shall meet the
following specifications:
1) The water supply line shall be equipped with a shut-off valve.
A) If aspirators are used in operating rooms, emergency rooms,
recovery rooms, delivery rooms, autopsy rooms, dental offices and laboratories
for removing blood, pus or other fluids, a vacuum breaker shall be installed on
the discharge side of the control valve, at ceiling height (a minimum of 7 feet,
6 inches) and the water supply shall be protected against backflow and back
siphonage by an air gap; or an RPZ shall be used.
B) Chemical dispensing units shall have a dedicated water supply
and shut-off valves to each unit. Each unit shall have a backflow device
installed to protect against backflow and back siphonage.
2) The aspirator water discharge shall be provided with a 2-inch
air gap to the receiving fixture.
i) Manufactured Housing and Mobile Home Units Manufactured Prior
to June 15, 1976. At the time of water service connection, backflow protection
shall be installed between the water service line and any manufactured housing
or mobile home unit that was manufactured prior to June 15, 1976. Backflow
protection shall be provided by at least a dual check valve backflow preventer
assembly (DuC) conforming to ASSE 1024. This backflow protection shall be
installed in all instances where a unit manufactured prior to June 15, 1976 is
connected or re-connected to a water service line, e.g., for connection of a
relocated unit, or re-connection of a unit that was disconnected to allow
repairs to the water line; however, backflow protection is not required for
existing units unless a new connection or re-connection to the water service
line occurs.
j) Carbonated Beverage Dispensers Water Supply. The water
supply to carbonated beverage dispensers shall be protected by one of the
following methods:
1) Air
gap;
2) ASSE
1022 backflow preventer; or
3) ASSE
1022 backflow preventer with vent port added.
k) Water-Powered Sump Pump. Sump pumps powered by potable or
reclaimed water pressure shall be used only as an emergency backup pump. The
water-powered pump shall be equipped with a battery powered alarm having a minimum
rating of 85 dBa at 10 feet. Water-powered pumps shall have a water efficiency
factor of pumping at least 1.4 gallons of water to a height of 10 feet for
every gallon of water used to operate the pump, measured at a water pressure of
60 psi. Pumps shall be clearly labeled as to the gallons of water pumped per
gallon of potable water consumed. Water-powered stormwater sump pumps shall be
equipped with a dual check valve with atmospheric vent conforming to ASSE 1012
or CSA B64.
(Source: Amended at 38 Ill.
Reg. 9940, effective April 24, 2014)
 | TITLE 77: PUBLIC HEALTH
CHAPTER I: DEPARTMENT OF PUBLIC HEALTH SUBCHAPTER r: WATER AND SEWAGE
PART 890
ILLINOIS PLUMBING CODE
SECTION 890.1150 WATER SERVICE PIPE INSTALLATION
Section 890.1150 Water
Service Pipe Installation
a) Underground Water Service. Water service pipe shall be
installed outside the foundation wall in accordance with either subsection
(a)(1) or (2) and shall comply with both subsections (a)(3) and (4).
1) Water service and building drain or building sewer may be
installed in separate trenches with a minimum of 10 feet horizontal
separation. Material listed in Appendix A.Table A (Approved Materials for
Building Sewer and Approved Materials for Water Service Pipe) shall be used,
provided that the material is specific for this type of installation. (See
Appendix I.Illustration E.)
2) The water service and the building drain or building sewer may
be installed in the same trench provided that the water service is placed on a
solid shelf a minimum of 18 inches above the building drain or building sewer.
The building sewer shall be of material listed in Appendix A.Table A (Approved
Building Drainage/Vent Pipe) for a building drain. (See Appendix I.Illustration
F for the proper installation of water service, building drain and building
sewer.)
3) The minimum depth for any water service pipe shall be at least
36 inches or the maximum frost penetration of the local area, whichever is of
greater depth.
4) No water service pipe shall be installed or permitted outside
of a building or in an exterior wall unless the pipe is protected from
freezing, in accordance with Section 890.1210(a).
b) Potable Water Piping and Sanitary Sewer Crossing Installation
Requirements
1) Potable water piping that passes above or below a sanitary sewer
shall be installed with a minimum vertical separation of 18 inches for a distance
of 10 feet on either side from the center of the sanitary sewer.
2) If potable water piping passes beneath a sanitary sewer or
drain, the sanitary sewer or drain shall be constructed of materials as
specified in Appendix A.Table A (Approved Building Drainage/Vent Pipe) for
building drains and shall extend on each side of the crossing to a distance of
at least 10 feet as measured at right angles to the water line. The potable
water piping shall comply with Appendix A.Table A as specified for a water
service pipe (Approved Materials for Water Service Pipe). (See Appendix I.Illustration
G.)
3) When compliance with subsection (b)(1) or (2) is not possible,
a pressure rated pipe, approved for building drain material listed in Appendix
A.Table A, shall encase the water service pipe. The casing pipe shall be
sealed with a casing seal and extend 10 feet on either side of the center of
the sanitary sewer pipe. The sleeve or case shall be at least two times the
size of the water service.
c) When compliance with subsection (a) or (b) is not possible,
the Department shall be contacted for consideration of alternative methods.
d) Stop-and-Waste Valve. Combination stop-and-waste valves and
cocks shall not be installed in an underground potable water pipe. Frost-free
hydrants and fire hydrants shall not be considered stop-and-waste valves. (See
Section 890.1140(e).)
(Source: Amended at 38 Ill.
Reg. 9940, effective April 24, 2014)
 | TITLE 77: PUBLIC HEALTH
CHAPTER I: DEPARTMENT OF PUBLIC HEALTH SUBCHAPTER r: WATER AND SEWAGE
PART 890
ILLINOIS PLUMBING CODE
SECTION 890.1160 POTABLE WATER PUMPING AND STORAGE EQUIPMENT
Section 890.1160 Potable
Water Pumping and Storage Equipment
a) Pumps and Other Appliances. Potable water pumps, tanks,
filters, and all other appliances and devices shall be protected against
contamination.
b) Water Supply Tanks. Potable water supply tanks shall be
properly covered to prevent contamination of the water supply. Soil or waste
lines shall not pass directly over such tanks.
c) Cleaning, Painting, Repairing Water Tanks. A potable water
supply tank used for domestic purposes shall not be lined, painted or repaired
with any material which affects either the taste or the potability of the
water. Tanks shall be disconnected from the system during such operations to
prevent any foreign substance from entering the system.
 | TITLE 77: PUBLIC HEALTH
CHAPTER I: DEPARTMENT OF PUBLIC HEALTH SUBCHAPTER r: WATER AND SEWAGE
PART 890
ILLINOIS PLUMBING CODE
SECTION 890.1170 POTABLE WATER SUPPLY TANKS AND AUXILIARY PRESSURE TANKS
Section 890.1170 Potable
Water Supply Tanks and Auxiliary Pressure Tanks
a) Water Pressure. When the water pressure from the public water
supply main is insufficient during periods of peak flow or due to the building
height to supply all fixtures in accordance with Section 890.1210(c), the rate
of supply shall be supplemented by a gravity tank or auxiliary pressure
(booster) system. Auxiliary pressure systems shall not substitute for adequate
sizing of water distribution piping within the building.
b) Support. All water supply tanks shall be supported in
accordance with local building codes or authorities having jurisdiction.
c) Tank Supply Inlet and Outlet. The water supply inlet to the
tank shall have a minimum air gap of at least 6 inches. The supply outlet
shall be a minimum of 4 inches above the bottom of the tank.
d) Overflow For Water Supply Tanks. Overflow pipes for gravity
tanks shall be indirectly connected to the drainage system with an air gap of
at least 6 inches. Overflow pipes shall be full sized, unrestricted and
screened with 24-mesh per inch stainless steel or bronze screen.
e) Size of Overflow. Overflow drains for gravity water supply
tanks shall have an area of at least twice the size of the supply pipe.
f) Drains. Water supply tanks shall be provided with valved
drain lines located at their lowest point and shall discharge through an
indirect waste with an air gap of twice the diameter of the drain line. The
drain line and valve shall have no restrictions and need not exceed 2 inches in
diameter.
g) Gravity and Suction Tanks. Tanks used for potable water supply
or only to supply fire-fighting equipment shall be equipped with tight,
overlapping covers that are rodent and insect proof. The tanks shall be vented
with a return bend (turned down) pipe having an area at least ½ the area of the
tank outlet pipe, and the vent opening shall be covered with a stainless steel
or bronze screen of at least 24-mesh per inch.
h) Pressure Tanks. Pressure tanks used for supplying water to
the water distribution system, or only to supply standpipes for fire equipment,
shall be equipped with a vacuum relief valve located on top of the tank. An
air inlet of this device shall be covered with a stainless steel or bronze
screen of at least 24-mesh per inch. (See Section 890.1230(f).)
(Source: Amended at 38 Ill.
Reg. 9940, effective April 24, 2014)
 | TITLE 77: PUBLIC HEALTH
CHAPTER I: DEPARTMENT OF PUBLIC HEALTH SUBCHAPTER r: WATER AND SEWAGE
PART 890
ILLINOIS PLUMBING CODE
SECTION 890.1180 FLUSHING/DISINFECTION OF POTABLE WATER SYSTEM
Section 890.1180
Flushing/Disinfection of Potable Water System
New or repaired potable water
systems shall be flushed or disinfected prior to use as follows:
a) Chlorinated Water Supply. If the potable water supply serving
the water supply system is chlorinated, e.g., a community water system, the
water supply system, or appropriate repaired portion, shall be flushed with
clean, potable water until no dirty water appears at the point of outlet.
b) Non-Chlorinated Water Supply. The pipe system shall be
flushed with clean, potable water until no dirty water appears at the point of
outlet.
1) The system, or part of the system, shall be filled with a
chlorine solution containing at least 50 parts per million of chlorine and
shall be valved off and allowed to stand for 24 hours, or the system, or part of
the system, shall be filled with a chlorine solution containing at least 200
parts per million of chlorine and be allowed to stand for three hours.
2) Following the required contact (standing) time, the system
shall be flushed with clean, potable water until the chlorine level in the
water discharging from the system is within acceptable limits for potable
water, i.e., generally until the water has no detectable chlorine odor.
3) To ensure that the water supplied by the water system is safe
for drinking, a bacteriological examination of a water sample taken from the
water supply system shall be secured. This examination shall be performed by a
laboratory certified in accordance with 77 Ill. Adm. Code 465. The chlorine
residual in any water sample collected for examination shall not exceed 4 parts
per million (or 4 milligrams/liter) for a reliable laboratory result. If the
examination reveals that contamination still persists in the system, the
procedure for disinfection shall be repeated.
(Source: Amended at 38 Ill.
Reg. 9940, effective April 24, 2014)
 | TITLE 77: PUBLIC HEALTH
CHAPTER I: DEPARTMENT OF PUBLIC HEALTH SUBCHAPTER r: WATER AND SEWAGE
PART 890
ILLINOIS PLUMBING CODE
SECTION 890.1190 WATER SUPPLY CONTROL VALVES AND METER
Section 890.1190 Water
Supply Control Valves and Meter
a) A full-port shut-off valve shall be located near the curb or
property line and immediately inside the building, on the inlet and outlet side
of the water meter. When located underground, this valve shall be in a stop
box or meter vault. (See Appendix I.Illustration H.)
b) The utility meter may be installed outside in an accessible
meter vault or within the building. The meter shall have unions on the inlet
and outlet openings. A full-port valve with an open area at least that of the
water service shall be provided for all meters and shall be provided with a
drain valve installed on the discharge side of the meter valve when located
inside of a building. (See Appendix I.Illustrations H and I.)
c) Tank Controls. Supply lines taken from pressure or gravity
tanks shall be valved at or near their source.
d) Water Heating Equipment. A shut-off valve shall be provided
in the cold water branch within 5 developed feet of each water storage tank or
each water heater and located in the same room.
e) Separate Controls for Each Family Unit. In multiple family
dwellings, the water service or water distribution pipe to each family unit
shall be controlled by an arrangement of line valves that permits each group of
fixtures and each individual fixture to be shut off without interference with
the water supply to any other family unit or portion of the building. The
location of these valves shall be uniform in each family unit of a multiple
family dwelling. (See Appendix I.Illustration J.)
f) Buildings Other Than Dwellings. In all buildings other than
dwellings and health care facilities as specified in subsection (g), line
valves shall be installed to permit the water supply to all equipment or
fixtures in each separate room to be shut off without interfering with the
water supply to any other room or portion of the building. For plumbing
equipment or fixtures that are installed back-to-back in adjacent rooms, e.g.,
in adjacent restrooms, a common line valve may be used to shut off the water
supply to the back-to-back fixtures in no more than two adjacent rooms. (See
Appendix I.Illustration K.)
g) Health Care Facilities. In the residence rooms of health care
facilities, the water distribution pipe to each resident unit shall be
controlled by an arrangement of line valves that permits each group of
fixtures, and each individual fixture, to be shut off without interference with
the water supply to any other unit or portion of the building.
(Source: Amended at 38 Ill.
Reg. 9940, effective April 24, 2014)
 | TITLE 77: PUBLIC HEALTH
CHAPTER I: DEPARTMENT OF PUBLIC HEALTH SUBCHAPTER r: WATER AND SEWAGE
PART 890
ILLINOIS PLUMBING CODE
SECTION 890.1200 WATER SERVICE SIZING
Section 890.1200 Water
Service Sizing
a) Water Service Pipe Sizing. The water service pipe from the
street main (including the tap) to the water distribution system for the
building shall be sized in accordance with Appendix A, Tables M, N, O, P and
Q. Water service pipe and fittings shall be at least ¾ inch diameter. Plastic
water pipe shall be rated at a minimum of 160 psi at 73.4°F. If flushometers or
other devices requiring a high rate of water flow are used, the water service
pipe shall be designed and installed to provide this additional flow.
b) Demand Load. The calculation of the water service demand load
for a building shall be based on the total number and types of fixtures
installed in the building, assuming the simultaneous use of such fixtures.
c) Unused sections of water service or water distribution piping
("dead ends"), where the water in the piping may become stagnant, are
prohibited. A developed length of more than 2 feet shall be considered a dead
end.
(Source: Amended at 28 Ill.
Reg. 4215, effective February 18, 2004)
 | TITLE 77: PUBLIC HEALTH
CHAPTER I: DEPARTMENT OF PUBLIC HEALTH SUBCHAPTER r: WATER AND SEWAGE
PART 890
ILLINOIS PLUMBING CODE
SECTION 890.1210 DESIGN OF A BUILDING WATER DISTRIBUTION SYSTEM
Section 890.1210 Design of a
Building Water Distribution System
a) Design and Installation. The design and installation of the
hot and cold water building distribution systems shall provide a volume of
water at the required rates and pressures to ensure the safe, efficient and
satisfactory operation of fixtures, fittings, appliances and other connected
devices during periods of peak use. No distribution pipe or pipes shall be
installed or permitted outside of a building or in an exterior wall or attic unless
the pipe is protected from freezing.
b) Size of Water Distribution Pipes. The fixture supply for each
fixture shall be at least the minimum size provided in Appendix A.Table D. The
size of all other water distribution pipes shall be determined by calculating
the water supply demand (in water supply fixture units) for that portion of the
water distribution system served by the pipe. Using Appendix A.Tables M, N, O,
P and Q, the cumulative water supply demand or load shall be calculated for all
fixtures, piping, valves and fittings served by the water distribution pipe,
and the pipe shall meet the minimum size provided in Appendix A.Table N or O,
as applicable. Exception: As an alternative to using Tables M, N, O, P and Q
to design and size the piping in the water distribution system, the system may
be designed and sized employing current engineering practices, provided that the
design/plans are approved in writing by an Illinois licensed professional
engineer, an Illinois licensed architect or an individual Certified in Plumbing
Design (CPD) by the American Society of Plumbing Engineers and approved in
writing by the Department.
c) Minimum Water Pressure. The minimum constant water service
pressure on the discharge side of the water meter shall be (at least) 20 psi,
and the minimum constant water pressure at each fixture shall be at least 8 psi
or the minimum recommended by the fixture manufacturer.
d) Auxiliary Pressure. Supplementary Tank. If the pressure in
the system is below the minimum 8 psi at the highest water outlet when the flow
in the system is at peak demand, an automatically controlled pressure tank or
gravity tank of a capacity to supply sections of the building installation that
are too high to be supplied directly from the public water main shall be
installed.
e) Low Pressure Cut-Off. When a booster pump, except those used
for fire protection, is used on an auxiliary pressure system, a low-pressure
cut-off switch shall be installed on the booster pump to prevent the creation
of pressures less than 5 psi on the suction side of the pump. A shut-off valve
shall be installed on the suction side of the water system and within 5 feet
from the pump suction inlet, and a pressure gauge shall be installed between
the shut-off valve and pump.
f) Water Hammer. All building water supply systems shall be provided
with air chambers or approved mechanical devices or water hammer arrestors to
absorb pressure surges. Water pressure absorbers shall be installed at the
ends of long pipe runs or near batteries of fixtures.
1) Air Chambers − An air chamber that is installed in a
fixture supply shall be at least 12 inches in length and the same diameter as the
fixture supply, or an air chamber with an equivalent volume may be used. An
air chamber that is installed in a riser shall be at least 24 inches in length
and at least the same size as the riser.
2) Mechanical Devices − If a mechanical device or water
hammer arrestor is used, the manufacturer's specifications for location and
installation shall be followed.
g) Excessive Static Water Pressure
1) If water main pressure exceeds 80 psi, a pressure reducing
valve and a strainer with a by-pass relief valve shall be installed in the
water service pipe near the entrance to the building to reduce the water
pressure to 80 psi or lower, except where the water service pipe supplies water
directly to a water pressure booster system, an elevated water tank, or to
pumps provided in connection with a hydropneumatic or elevated water supply
tank system. Sill cocks and outside hydrants may be left on full water main
pressure.
2) When the water pressure exceeds 80 psi at any plumbing
fixture, a pressure reducing valve, pressure gauge and a strainer with a
by-pass relief valve shall be installed in a water supply pipe serving the
fixture to reduce the water pressure at the fixture to 80 psi or lower.
h) Approval of Auxiliary Pressure Systems. Whenever, in any
building, structure or premises receiving its potable water supply from the
public water system, a pump or any other device for increasing the water
pressure is to be installed, installation plans shall be approved by the
Department prior to installation in accordance with Section 890.1940.
i) Variable Street Pressures. If the water main has a wide
fluctuation in pressure, the water distribution system shall be designed for
minimum pressure available at the main.
(Source: Amended at 38 Ill.
Reg. 9940, effective April 24, 2014)
 | TITLE 77: PUBLIC HEALTH
CHAPTER I: DEPARTMENT OF PUBLIC HEALTH SUBCHAPTER r: WATER AND SEWAGE
PART 890
ILLINOIS PLUMBING CODE
SECTION 890.1220 HOT WATER SUPPLY AND DISTRIBUTION
Section 890.1220 Hot Water
Supply and Distribution
a) All water heaters shall comply with Appendix A.Table A
(Approved Standards for Plumbing Appliances/Appurtenances/Devices) and ASHRAE
90 Standards. Hot water storage tanks shall meet construction requirements of
ASME, AGA or UL listed in Appendix A.Table A (Approved Standards for Plumbing
Appliances/Appurtenances/Devices), as appropriate. Hot water supply boilers
with heat input in excess of 200,000 BTU per hour, water temperature in excess
of 200 degrees Fahrenheit, or capacity in excess of 120 gallons shall also
comply with the requirements of 41 Ill. Adm. Code 120(Boiler and Pressure
Vessel Safety). Smaller water storage tanks that are not subject to ASME
requirements shall be constructed of durable materials and constructed to
withstand 150 psi. (See Appendix I.Illustrations L and M, for examples of
typical water heater installations.)
1) All equipment used for heating and storage of hot water shall
bear the marking of an approved testing agency certifying that it has been
tested and approved and listed as meeting the requirements of the applicable
standard. Listing by UL, the Canadian Standards Association (CSA), or National
Board of Boiler and Pressure Vessel Inspectors, or the ASME Standard shall
constitute evidence of conformance with these standards.
2) Solar Hot Water Heat Exchangers
A) A hot water heat exchanger used in a solar-heated system may be
of single wall construction if a non-toxic transfer fluid with no conditioning
chemicals in the system is used.
B) A hot water exchanger used in a solar-heated system using a
toxic transfer fluid or having conditioning chemicals in the system shall be
separated from the potable water by double wall construction that has an air
gap vented to the atmosphere between the walls.
3) A hot water heat exchanger may be of single wall construction
if a non‑toxic transfer fluid with no conditioning chemicals in the
system is used.
4) A hot water heat exchanger operating at or below 65 psi using
a toxic transfer fluid or having conditioning chemicals in the system shall be
separated from the potable water by double wall construction, with an air gap
open to the atmosphere between the two walls.
5) A hot water heat exchanger shall not be permitted on any hot
water boiler system operating in excess of 65 psi or 250 degrees Fahrenheit,
unless:
A) the heat exchanger is double-walled;
B) the heat exchanger has an air gap open to the atmosphere
between the two walls; and
C) the heat exchanger has a pressure gradient monitor system with a
"fail-safe to off" switch installed to isolate the heat exchanger
from the potable cold or hot water system. If pressure on the potable water
side reaches a pressure less than 20 psi above the pressure of the transfer
fluid or steam and a pressure-reducing valve is installed on the inlet to the
heat exchanger with a setting 20 psi lower than the potable water pressure at
the heat exchanger, an audible alarm shall be activated and the heat exchanger
shall be automatically shut off until the alarm and heat exchanger can be reset
manually.
6) Any boiler using toxic chemicals shall have a label with a
minimum size of 5 inches by 5 inches attached to the boiler in a conspicuous
place. The label shall read as follows:
WARNING
Chemicals and
additives used to treat the boiler feed water in this boiler are not approved
for potable water. The steam or hot water produced by this boiler is not
potable. If the steam or hot water produced by this boiler is used to heat
water, the water will not be considered potable if the steam and potable water
are mixed.
7) Indirect, External, Submerged Coils. Indirect, external,
tankless or submerged coils used in heating water shall be equipped with a
thermostatic mixing valve or valves when not connected to a storage tank. A
pressure relief valve shall be installed on the cold water inlet of the tank.
A properly sized temperature and pressure relief valve, based upon the energy
input rating of the coils, shall be installed on the tempered line with the
temperature sensing element immersed in the tempered water line as close as
possible to the mixing valve.
8) Water Heaters Used for Space Heating. Any water heater to be
used for space heating, in addition to hot water supply, shall conform to ANSI Z21.10.1,
Z21.10.1a and Z21.10.1b and shall be constructed for continuous use, and the
piping for space heating shall be conducted to a proper terminal heating
device.
A) A thermostatic mixing valve, conforming to ASSE 1017, shall be
installed on the hot water line to the plumbing fixtures. (The mixing valve
shall be set to prevent temperatures exceeding 120 degrees Fahrenheit from
reaching the plumbing fixtures.)
B) A single check valve shall be installed in the cold water line
supplying the water heater. This will prevent hot water backing up from the
heating unit to the plumbing fixtures.
C) A properly sized and approved expansion tank shall be located on
the outlet side of the check valve in the water heater's cold water supply,
with no shut-off valve between the heater and expansion tank.
D) Valves (manual, automatic) supplying hot water to the heat
transfer unit for space heating shall have a minimum of a ⅛-inch
orifice. This will prohibit potable water from standing in the heat transfer
unit when not in use. This does not prohibit full shut off/isolation valves on
either side of the pump within a heat transfer unit, as needed, to permit the
servicing of the pump.
E) The water heater instructions shall have a statement specifying
that piping and components connected to the water heater for the space heating
application shall be suitable for use with potable water, and the water heater
shall not exceed a developed length of more than 25 feet from the heating coil.
F) A statement specifying that toxic chemicals, such as those
used for boiler treatment, shall not be introduced into the potable water used
for space heating shall be included in the instructions. A label with the
following words shall be firmly attached to any water heater used for space
heating: "DO NOT INJECT TOXIC MATERIALS INTO THIS TANK."
G) A statement specifying that a water heater that will be used to
supply potable water shall not be connected to any heating system or components
previously used with a non-potable water heating appliance shall be included in
the installation instructions.
H) Each water heater shall bear a statement on the rating plate as
follows: "SUITABLE FOR POTABLE WATER HEATING AND SPACE HEATING."
9) Point-of-Use Water Heaters. Point-of-use water heaters shall
meet the following requirements:
A) Non-storage and non-pressurized units intended to deliver water
temperatures exceeding 110 degrees Fahrenheit, or with no mechanical or
electrical temperature limiting device, shall have the faucet located at least 3
inches from the 110 degrees Fahrenheit hot water or cold water faucet. Faucet
outlets shall have labels clearly and conspicuously indicating extremely hot
water. These units are exempt from the requirement that a relief valve or
valves be used to protect against excessive or unsafe temperature or pressure.
B) Units intended to deliver water temperatures 110 degrees
Fahrenheit or less shall have an internal burnout element. These units are
exempt from the requirement that a relief valve or valves to be used to protect
against excessive or unsafe temperature and/or pressure.
C) All pressurized point-of-use water heaters, other than those in
subsection (a)(9)(A) or (B), shall be provided with proper temperature and
pressure relief.
10) Steam Heat. All water heaters, including storage heaters,
instantaneous shell and tube heat exchangers, steam injection heaters and any
other device using steam to heat water for potable use, shall meet the
following requirements:
A) All chemicals and additives used to treat the boiler feed water
in a boiler supplying steam to heat potable water shall be approved for use
with potable water. If approved chemicals and additives are used with steam
boilers generating at 15 psi or less, or are used with pressure reducing
stations with pressure relief valves set at 15 psi or less downstream from the
pressure reducing valves, single wall heat exchangers may be used.
B) All
steam heat exchangers operating in excess of 15 psi but less than 50 psi shall
be separated by double wall construction, with an air gap open to the
atmosphere between the two walls.
C) All
steam heat exchangers operating in excess of 50 psi shall meet the following
requirements:
i) The heat exchanger
shall be double-walled;
ii) The
heat exchanger shall have an air gap open to the atmosphere between the 2
walls; and
iii) The
heat exchanger shall have a pressure gradient monitoring system with a
"fail-safe to off" switch installed to isolate the heat exchanger
from the potable cold or hot water system. If the pressure on the potable
water side reaches a pressure less than 20 psi above the pressure of the
transfer fluid or steam and a pressure reducing valve is installed on the inlet
to the heat exchanger with a setting 20 psi lower than the potable water
pressure at the heat exchanger, an audible alarm shall be activated and the
heat exchanger shall automatically shut off until the conditions resulting in
an alarm are corrected and the heat exchanger pressure gradient monitoring
system can be manually reset.
D) The
steam pressure to all the steam heat injectors shall be 15 psi lower than the
water pressure at the ejector. Steam injection heaters shall be supplied with
steam from a generator or boiler that uses only United States Food and Drug
Administration (FDA) approved additives or chemicals.
E) The
following warning label with a minimum size of 5 inches by 5 inches shall be
permanently attached on the front of any boiler providing steam to direct-injection
steam hot water heaters:
"If the chemicals used to
treat the boiler feed water in this boiler are not approved for potable water,
the steam produced by this boiler cannot be considered potable. Therefore, if
steam from this boiler is used to heat water, the water shall not be considered
potable and any cross-connections between the hot water produced and a potable
water supply must be provided with a device to prevent the backflow of the
non-potable hot water into the potable water supply."
b) Water Heaters – Food Service. Water heaters installed and used
in food service establishments with dishwashing machines shall comply with
National Sanitation Foundation (NSF)/ANSI Standard Number 5.
c) Discharge. With the exception of special water heaters used
for space heating in addition to hot water supply, as provided in subsection
(a)(8), water that leaves the potable water system for heating, cooling, use in
equipment or other similar uses shall not be returned to the potable water
distribution system. If water is discharged to the building drainage system,
it shall be discharged through a fixed air gap.
(Source: Amended at 38 Ill.
Reg. 9940, effective April 24, 2014)
 | TITLE 77: PUBLIC HEALTH
CHAPTER I: DEPARTMENT OF PUBLIC HEALTH SUBCHAPTER r: WATER AND SEWAGE
PART 890
ILLINOIS PLUMBING CODE
SECTION 890.1230 SAFETY DEVICES
Section 890.1230 Safety
Devices
a) All equipment used for heating water or storing hot water
shall be provided, at the time of installation of the equipment, with the
required relief valve or valves to protect against excessive or unsafe
temperature and pressure. This shall be achieved by installing either a
pressure relief valve and a temperature relief valve or by installing a
combination pressure-temperature relief valve.
b) Pressure and Temperature Relief Valves
1) Pressure Relief Valves. Pressure relief valves shall have an
ASME relief rating to meet the pressure conditions specified on the equipment
served. They shall be installed in the cold water supply line to the heating
equipment served, except where scale formation from hard water may be
encountered, in which case they shall be installed in the hot water supply line
from the heating equipment served. There shall not be a shut-off valve between
the pressure relief valve and the tank. Except when an alternate design is
approved by the Department in writing pursuant to Section 890.140(a)(2) or
890.1940, the pressure relief valve shall be set to open at a maximum of the
working pressure rating of the water heater, but shall not exceed 150 psi. Each
pressure relief valve shall have a test lever.
2) Temperature Relief Valves. Temperature relief valves shall
bear the Canadian Standard Association (CSA) relief rating, expressed in
British Thermal Units (BTU) of heat input per hour, for the equipment served.
They shall be installed so that the temperature-sensing element is immersed in
the hottest water within the top 6 inches of the tank. The valve shall be set
to open full when the stored water temperature is 210 degrees Fahrenheit.
c) Combination Pressure-Temperature Relief Valves
1) Combination pressure-temperature relief valves shall comply
with the applicable requirements listed in Appendix A.Table A (Approved
Standards for Plumbing Appliances/Appurtenances/Devices) for individual
pressure and individual temperature relief valves, shall be installed so that
the temperature sensing element is immersed in the hottest water within the top
6 inches of the tank, and shall have a test lever.
2) A check valve or shut-off valve shall not be installed between
any safety device and the hot water equipment, nor shall there be any shut-off
valve in the discharge pipe from the relief valve. (See Appendix I.Illustrations
N and O.)
3) Energy cut-off devices shall not be used in lieu of
subsections (c)(1) and (2) and shall be of a design to properly serve the
intended use of the plumbing appliance, appurtenance or device. Exception:
Instantaneous cut-off devices are exempted or may be used.
d) Relief Discharge Outlet
1) A relief discharge outlet shall be installed and be indirectly
connected to waste. The discharge pipe from the relief valve shall not be
located so as to create a safety hazard or to discharge so as to cause damage
to the building or its contents. The relief valve shall not discharge through
a wall into the outside atmosphere or where there is a possibility of freezing.
2) No reduced coupling, valve or any other restriction that would
impede the flow of discharge shall be installed in the discharge line of any
relief valve. The discharge line shall be installed from the relief valve to
within 6 inches of the floor or receptor and the end of the line shall not be
threaded.
3) Any piping used for discharge from the relief valve shall be
of metallic material, shall comply with Appendix A. Table A (Approved Materials
for Water Distribution Pipe) for potable water piping, and shall drain
continuously downward to the outlet.
4) The discharge piping shall discharge indirectly into a floor
drain, hub drain, service sink, sump or a trapped and vented P-trap that is
located in the same room as the water heater. (See Sections 890.1010 and
890.1050(a), (b) and (c).) The trap shall have a deep seal to protect against
evaporation or shall be fed by means of a priming device designed and installed
for that purpose. The use of a light grade oil in the trap will retard
evaporation.
e) Pressure Marking – Hot Water Storage Tank. Hot water storage
tanks shall be permanently marked in an accessible place with the maximum
allowable working pressure.
f) Vacuum Relief Valve. If a hot water storage tank or water
heater is located at an elevation above the fixture outlets in the hot water
system, or if the storage tank or water heater is bottom fed, a vacuum relief
valve as listed in Appendix A.Table A (Approved Standards for Plumbing Appliances/Appurtenances/Devices)
shall be installed on the storage tank or heater.
g) Multiple Temperature Hot Water Systems. These systems shall
be provided with thermostatic mixing valves to control the desired
temperatures.
(Source: Amended at 38 Ill.
Reg. 9940, effective April 24, 2014)
 | TITLE 77: PUBLIC HEALTH
CHAPTER I: DEPARTMENT OF PUBLIC HEALTH SUBCHAPTER r: WATER AND SEWAGE
PART 890
ILLINOIS PLUMBING CODE
SECTION 890.1240 MISCELLANEOUS
Section 890.1240
Miscellaneous
Drain Cock. All storage tanks
shall be equipped with drain cocks.
SUBPART J: DRAINAGE SYSTEM
 | TITLE 77: PUBLIC HEALTH
CHAPTER I: DEPARTMENT OF PUBLIC HEALTH SUBCHAPTER r: WATER AND SEWAGE
PART 890
ILLINOIS PLUMBING CODE
SECTION 890.1310 MATERIALS
Section 890.1310 Materials
a) General. All materials used for drainage systems and clear
water vacuum waste systems shall comply with Appendix A.Table A (Approved
Building Drainage/Vent Pipe).
b) Corrosive Waste. If corrosive waste is discharged to the
drainage system, or if soil conditions are corrosive, only piping material
listed in Appendix A.Table A(Approved Building Drainage/Vent Pipe) and approved
for use with corrosive material shall be used. Fittings shall be of the same
material as piping. No other material (piping, fitting, etc.) shall be used
unless its use is approved in writing by the Department prior to installation,
in accordance with Section 890.1940.
(Source: Amended at 38 Ill.
Reg. 9940, effective April 24, 2014)
 | TITLE 77: PUBLIC HEALTH
CHAPTER I: DEPARTMENT OF PUBLIC HEALTH SUBCHAPTER r: WATER AND SEWAGE
PART 890
ILLINOIS PLUMBING CODE
SECTION 890.1320 DRAINAGE SYSTEM INSTALLATION
Section 890.1320 Drainage
System Installation
a) Drain – Underground. A building drainage system installed in the
ground shall be of cast iron, copper Type "K", or non-metallic
Schedule 40 or heavier. Drains shall be installed on a continuous bed of
undisturbed earth or granular fill so as to support the pipe and fittings.
b) Existing Drain and Sewer Installation. Existing drain, waste,
vent and sewer may be used in the renovation of the plumbing system of an
existing structure if they are in serviceable condition and the materials comply
with Appendix A.Table A (Approved Building Drainage/Vent Pipe and Approved Materials
for Building Sewer).
c) Freezing. No soil or waste pipe shall be installed or
permitted outside of a building or in an exterior wall unless the piping is
protected from freezing. This does not prohibit a soil or waste pipe from
extending from a manufactured or mobile home unit to an approved point of
discharge, provided that the waste line is protected from freezing.
d) Dead Ends. Dead ends shall be avoided in a drainage system,
except where necessary to extend the system to install a cleanout in an
accessible location. A dead end intended for future connection (extension) that
is more than 2 feet above a floor or more than 10 feet horizontally from the
nearest vented connection shall have a vented connection to the outside
atmosphere. (See Appendix J.Illustration A.)
e) Horizontal Drainage Piping. Horizontal drainage piping shall
be installed at a uniform grade.
f) Small Piping. Horizontal drainage piping of 3 inches diameter
or less shall be installed with a grade of at least ¼-inch per foot.
g) Large Piping. Horizontal drainage piping larger than 3 inches
but less than 8 inches in diameter shall be installed with a grade of at least ⅛-inch
per foot. For piping 8 inches or larger in diameter, the grade is determined
by the number of drainage fixture units connected to the drain pipe. (See
Appendix A.Table G.)
h) Minimum Velocity. If conditions do not permit building drains
to be installed with a grade as great as that specified in subsections (f) and
(g), a lesser grade may be used, provided that the computed velocity will not
be less than 2 feet per second.
i) Changes in Direction. Changes in direction shall be made in
drainage piping by the use of 45 degree wyes, long sweeps, short sweeps,
quarter, fifth, sixth, eighth, or sixteenth bends, or by a combination of these
fittings. Single and double sanitary tees and short sweep quarter bends shall
be used in drainage lines only where the direction of flow is from the
horizontal to the vertical and may be used for making necessary vertical
offsets between the ceiling and floor above. (See Appendix J.Illustrations B, C
and D.) Exception: A short sweep drainage quarter bend of less than 3 inches
diameter and placed in a horizontal to horizontal position for a stack vent arm
may be used to receive graywater.
j) No fittings having a hub in the direction opposite to flow,
or tee branch, shall be used as a drainage fitting. No running threads, bands
or saddles shall be used in the drainage system. No drainage or vent pipe or
fitting shall be drilled or tapped.
k) No fitting, connection, device or method of installation shall
be used that obstructs or retards the flow of water, waste or air in the
drainage or venting system by an amount greater than the normal frictional
resistance to flow. The enlargement of a 3-inch closet bend or stub to 4 inches
shall not be considered an obstruction if it is necessary to increase the bend
or stub at the floor line to 4 inches in diameter to accommodate the water
closet outlet.
l) Fixture Connections. Branch wastes and fittings for circuit-vented
fixtures shall be installed so that the fixture drain enters the side of the
branch drain. (See subsection (i) and Appendix J.Illustration E.)
m) Back-to-Back Fixtures. Back-to-back fixtures shall be
installed with fittings that will prevent mixing of the discharge prior to a
change in direction of flow of the discharge from each fixture, or shall be
installed with fittings especially designed to eliminate throw-over or backflow
of the discharge from one fixture to the other fixture.
n) Location of Drains. All building drains, branches of building
drains, building sewers or any sanitary sewers shall be located at least 50
feet from a well or buried suction line, except that, when cast iron pipe with
mechanical or compression joints or Schedule 40 PVC pipe with solvent weld and watertight
joints is used for the building sewer, the drains shall be located at least 10 feet
from a well or buried suction line.
o) Backwater valves may be installed in the building storm drain
or the building drain to prevent backflow into the building, where backflow of
storm water or sewage could occur. Backwater valves may be installed in the
branches of the building drain that are below grade. Backwater valves, when
fully opened, shall have a capacity of at least that of the pipes in which they
are installed. Backwater valves shall be installed to be accessible. All
backwater valves shall conform to ASME A112.14.1. All bearing parts of
backwater valves shall be made of corrosion-resistant material.
(Source: Amended at 38 Ill.
Reg. 9940, effective April 24, 2014)
 | TITLE 77: PUBLIC HEALTH
CHAPTER I: DEPARTMENT OF PUBLIC HEALTH SUBCHAPTER r: WATER AND SEWAGE
PART 890
ILLINOIS PLUMBING CODE
SECTION 890.1330 DRAINAGE FIXTURE UNITS (DFUS)
Section 890.1330 Drainage
Fixture Units (DFUs)
a) Values for Fixtures. Drainage fixture units (DFUs) (see Appendix
A.Table E) designate the relative load of different kinds of fixtures that
shall be used to calculate the total load carried by a soil or waste pipe, and
shall be used with the tables of sizes for soil, waste and drain pipes for
which the permissible load is given in terms of DFUs.
b) Values for Continuous Flow. For a continuous or
semi-continuous flow into a drainage system, such as from a pump, ejector,
air-conditioning equipment or similar devices, two DFUs shall be considered to
be equal to each gallon per minute (gpm) of flow.
(Source: Amended at 38 Ill.
Reg. 9940, effective April 24, 2014)
 | TITLE 77: PUBLIC HEALTH
CHAPTER I: DEPARTMENT OF PUBLIC HEALTH SUBCHAPTER r: WATER AND SEWAGE
PART 890
ILLINOIS PLUMBING CODE
SECTION 890.1340 DETERMINATION OF SIZES FOR DRAINAGE SYSTEM
Section 890.1340
Determination of Sizes for Drainage System
a) Maximum Fixture Unit Load. The maximum number of DFUs that
may be connected to a given size of building drain, horizontal branch, or
vertical soil or waste stack is established in Appendix A.Tables G and H. Exception:
As an alternative to using Appendix A.Tables G and H to design and size the
building drain, horizontal branch, or vertical soil or waste stack, the system
may be designed and sized employing current engineering practices, provided
that the design/plans are signed and sealed by an Illinois licensed
professional engineer, an Illinois licensed architect or an individual
Certified in Plumbing Design (CPD) by the American Society of Plumbing
Engineers and approved in writing by the Department.
b) Minimum Size of Building Drain, Horizontal Branches, Drainage
Piping
1) The minimum size of any gravity building drain shall be 4
inches in diameter.
2) Pressure-building drains shall not be used where gravity drains
may be installed. Pressure-building drains shall be sized in accordance with
the ejector pump manufacturer's recommendation, but shall not be less than 2
inches in diameter.
3) Gravity drained horizontal branches of the building drain
shall be sized in accordance with Appendix A.Table H.
4) No portion of the drainage system installed underground or
below a basement or cellar shall be less than 2 inches in diameter. The
venting system is excluded from this requirement.
5) The drainage piping shall not be reduced in size in the
direction of flow.
c) Minimum Size of Soil and Waste Stacks. No soil or waste stack
shall be smaller than the largest horizontal branch connected to the stack,
except that a 4 inch by 3 inch water closet connection shall not be considered
as a reduction in pipe size.
d) Waste Stacks Serving Kitchen Sinks. In one- or two-family
dwellings in which the waste stack or vent receives the discharge of a
kitchen-type sink and also serves as a vent for fixtures connected to the
horizontal portion of the branch served by the waste stack, the minimum size of
the waste stack up to the highest sink branch connection shall be 2 inches in
diameter. Above that point the size of the stack shall be governed by the
total number of drainage fixture units vented by the stack. (See Appendix J.Illustration
F.)
e) Future Fixtures. If the future installation of fixtures is
provided for during initial construction, the fixtures provided for shall be
considered in determining the required size of drain pipes and vent piping.
Piping provided for future installation of fixtures shall be terminated with a
plugged fitting or fittings at the stack so as to form no dead ends. In a
multi-story building, when openings are roughed in for future fixtures below
the uppermost level, properly sized vent piping shall be connected to the vent
system and carried down to the appropriate lower level and be capped or plugged
in an accessible location for venting of the future fixtures.
(Source: Amended at 38 Ill.
Reg. 9940, effective April 24, 2014)
 | TITLE 77: PUBLIC HEALTH
CHAPTER I: DEPARTMENT OF PUBLIC HEALTH SUBCHAPTER r: WATER AND SEWAGE
PART 890
ILLINOIS PLUMBING CODE
SECTION 890.1350 OFFSETS IN DRAINAGE PIPING
Section 890.1350 Offsets in
Drainage Piping
a) Offsets of 45 Degrees or Less. An offset in a vertical soil
or waste stack with a change of direction of 45 degrees or less from the
vertical shall be sized as a straight vertical stack. If a horizontal soil or
waste branch connects to the soil or waste stack within two (2) feet above or
below the offset, a relief vent shall be installed in accordance with Section
890.1550(c). (See Appendix J: Illustration G.)
b) Offsets of More Than 45 Degrees. A soil or waste stack with
an offset of more than 45 degrees from the vertical shall be sized and
installed as follows:
1) The portion of the stack above the offset shall be sized as
for a regular stack based on the total number of drainage fixture units above
the offset.
2) The offset shall be sized as for a building drain. (See
Appendix A: Table G.)
3) The portion of the stack below the offset shall be sized as
for the offset or based on the total number of drainage fixture units on the
entire stack, whichever is larger. (See Appendix A: Table L.)
4) The drain offset shall have a relief vent installed as
provided in Section 890.1550. In no case shall a horizontal soil or waste
branch connect to the soil or waste stack within two (2) feet above or below
the drain offset. (See Appendix J: Illustration H.)
c) Above Highest Branch. An offset above the highest horizontal
waste branch is an offset in the stack vent and shall be considered only as it
affects the developed length of the vent. (See Appendix J: Illustration I.)
d) Below Lowest Branch. In the case of an offset in a soil or
waste stack below the lowest horizontal branch, no change in diameter of the
stack shall be required because of the offset if it is made at an angle of not
greater than 45 degrees. If such an offset is made at an angle greater than 45
degrees, the required diameter of the offset and the stack below it shall be
determined as for a building drain. (See Appendix A: Table G, and Appendix
J: Illustration J.)
 | TITLE 77: PUBLIC HEALTH
CHAPTER I: DEPARTMENT OF PUBLIC HEALTH SUBCHAPTER r: WATER AND SEWAGE
PART 890
ILLINOIS PLUMBING CODE
SECTION 890.1360 SANITARY WASTES BELOW SEWER
Section 890.1360 Sanitary
Wastes below Sewer
a) Sanitary Wastes below Sewer
1) Sanitary wastes that cannot be discharged by gravity flow
shall be discharged into a gas-tight, covered and vented sump from which the
waste shall be lifted and discharged into a sanitary waste drain by automatic sewage
ejection pumping equipment. (See Appendix J.Illustration K.)
2) Sumps and ejectors handling sub-soil drainage and footing
drains shall not receive any sewage.
3) Sumps and ejectors handling sewage shall not receive subsoil
drainage and footing drains.
b) Design. Sump and pumping equipment shall be designed and
installed to discharge, during the pumping cycle, all contents accumulated in
the sump except for sump contents that must remain in the sump for the
continued proper operation of the pumping equipment (e.g., contents needed to
submerge or prime the pump) according to the manufacturer's recommendations.
c) Sub-Drainage. The system of drainage piping below the
building drain level shall be installed and vented in the same manner as that
of the gravity drainage system.
d) Duplex Equipment. Sumps receiving the discharge of more than six
water closets or 60 DFUs shall be provided with duplex pumping equipment.
e) Vent Sizes. Building sump vents shall be sized in accordance
with Appendix A.Table K.
f) Connections. No direct connection of a steam exhaust,
blowoff, or drip pipe shall be made with the building drainage system waste
water. Steam exhaust, blowoff or drip pipes discharged into the building
drainage system shall not exceed a temperature of 180 degrees Fahrenheit. When
higher temperatures exist, cooling methods shall be provided to reduce the
temperature to 180 degrees Fahrenheit or less.
g) Elevator Pits
1) Drains
connected directly to sewers shall not be installed in elevator pits.
2) All discharges from elevator sumps shall indirectly discharge
to the sanitary sewer or storm drain.
(Source: Amended at 38 Ill.
Reg. 9940, effective April 24, 2014)
|
|
|
|
|
|
|
|
|
|
|
|
|
|
|
|
|
|
|
|
|
|
|
|
|
|
|
|
|
|
|
|
|
|
|
|
|
|
|
|
|
|
|
|
|
|
|
|
|
|
|
|
|
|
|
|
|
|
|
|
|
|
|
|
|
|
|
|
|
|
|
|
|
|
|
|
|
|
|
|
|
|